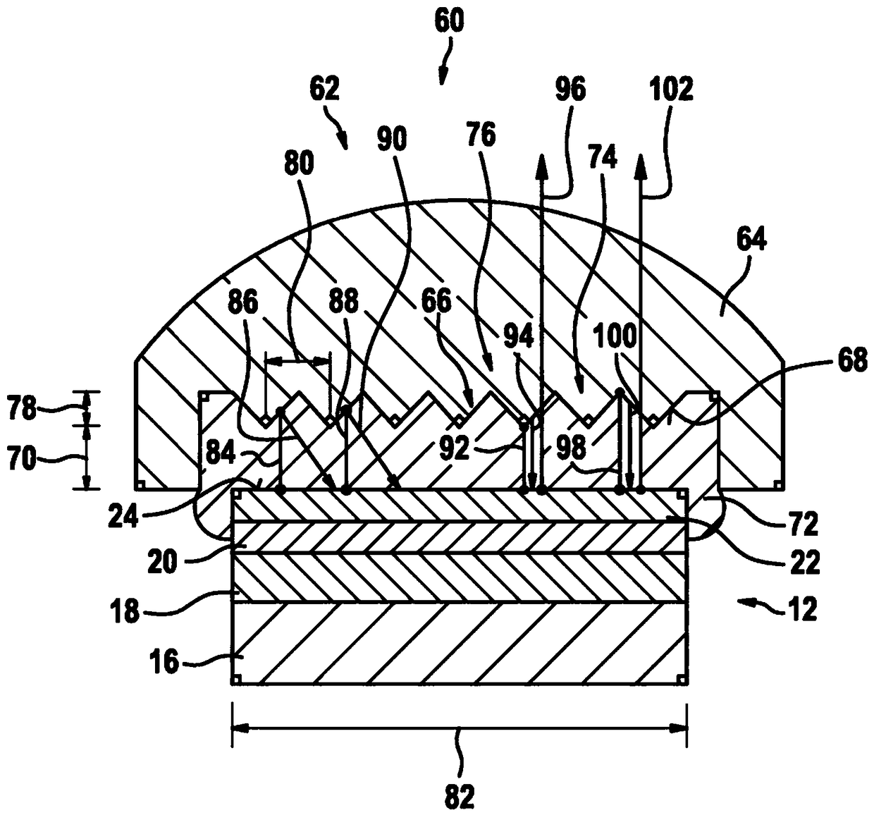
标题:
具有声透镜的超声探头
授权日:
2017-12-08
公开(公告)号:
CN103827960B
申请日:
2012-09-10
公开(公告)日:
2017-12-08
当前申请(专利权)人:
皇家飞利浦有限公司
发明人:
H·A·孔克尔 | C·C·克鲁克香克
简单同族:
BR112014006785A2 | CN103827960A | CN103827960B | EP2748813A1 | EP2748813B1 | IN1870CHENP2014A | JP2014531255A | JP2014531255A5 | JP5981998B2 | MX2014003485A | MX343899B | RU2014117011A | RU2599404C2 | US20140204717A1 | US20160098984A1 | US9214152 | US9842583 | WO2013046080A1
简单同族成员数量:
18
简单同族被引用专利总数:
32
诉讼案件数:
0
法律状态/事件:
授权