首页
专利数据库
产业人才
行业动态
产业政策法规
维权援助
个人中心
登录/注册
详情
文本
图像
标题:
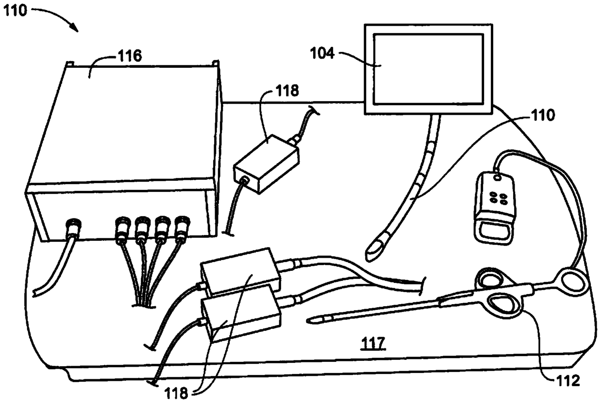
用于修复心脏瓣膜小叶的外科手术导航
授权日:
1900-01-01
公开(公告)号:
CN104053404A
申请日:
2012-12-03
公开(公告)日:
2014-09-17
当前申请(专利权)人:
尼奥绰德有限公司
发明人:
约翰·岑特格拉夫 | 泰利·彼得斯
简单同族:
AU2012345588A1 | CA2856549A1 | CN104053404A | EP2785256A1 | EP2785256A4 | HK1197801A | JP2015502807A | JP2015502807A5 | US20130150710A1 | US20150190207A1 | US8938283 | US9393080 | WO2013082581A1
简单同族成员数量:
13
简单同族被引用专利总数:
27
诉讼案件数:
0
法律状态/事件:
撤回