首页
专利数据库
产业人才
行业动态
产业政策法规
维权援助
个人中心
登录/注册
详情
文本
图像
标题:
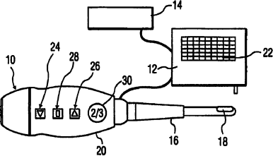
手柄内包括控制机构的用于内部成像的超声系统
授权日:
1900-01-01
公开(公告)号:
CN1802124A
申请日:
2004-06-07
公开(公告)日:
2006-07-12
当前申请(专利权)人:
皇家飞利浦电子股份有限公司
发明人:
J・拜伦
简单同族:
CN1802124A | JP2006527055A | US20070093713A1 | WO2004107980A2 | WO2004107980A3
简单同族成员数量:
5
简单同族被引用专利总数:
47
诉讼案件数:
0
法律状态/事件:
驳回