首页
专利数据库
产业人才
行业动态
产业政策法规
维权援助
个人中心
登录/注册
详情
文本
图像
标题:
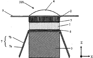
超声波探头
授权日:
1900-01-01
公开(公告)号:
CN101536545A
申请日:
2007-11-02
公开(公告)日:
2009-09-16
当前申请(专利权)人:
柯尼卡美能达株式会社
发明人:
齐藤孝悦
简单同族:
CN101536545A | CN101536545B | DE112007002645T5 | JP5331483B2 | JPWO2008056611A1 | KR101121369B1 | KR1020090085579A | US20100066207A1 | US8319399 | WO2008056611A1
简单同族成员数量:
10
简单同族被引用专利总数:
68
诉讼案件数:
0
法律状态/事件:
未缴年费 | 权利转移