首页
专利数据库
产业人才
行业动态
产业政策法规
维权援助
个人中心
登录/注册
详情
文本
图像
标题:
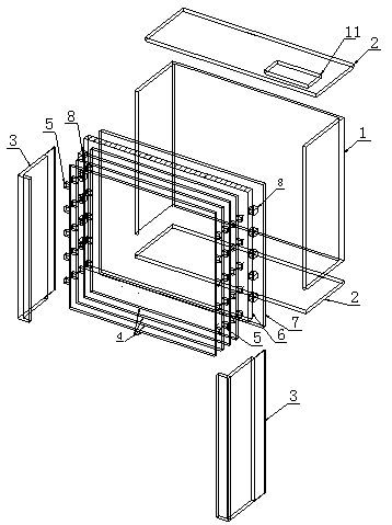
一种大尺寸显示装置背光模组加固结构
授权日:
2019-09-03
公开(公告)号:
CN209343098U
申请日:
2019-02-27
公开(公告)日:
2019-09-03
当前申请(专利权)人:
南京若吉电子有限公司
发明人:
吴世轩 | 王若然
简单同族:
CN209343098U
简单同族成员数量:
1
简单同族被引用专利总数:
0
诉讼案件数:
0
法律状态/事件:
授权