首页
专利数据库
产业人才
行业动态
产业政策法规
维权援助
个人中心
登录/注册
详情
文本
图像
标题:
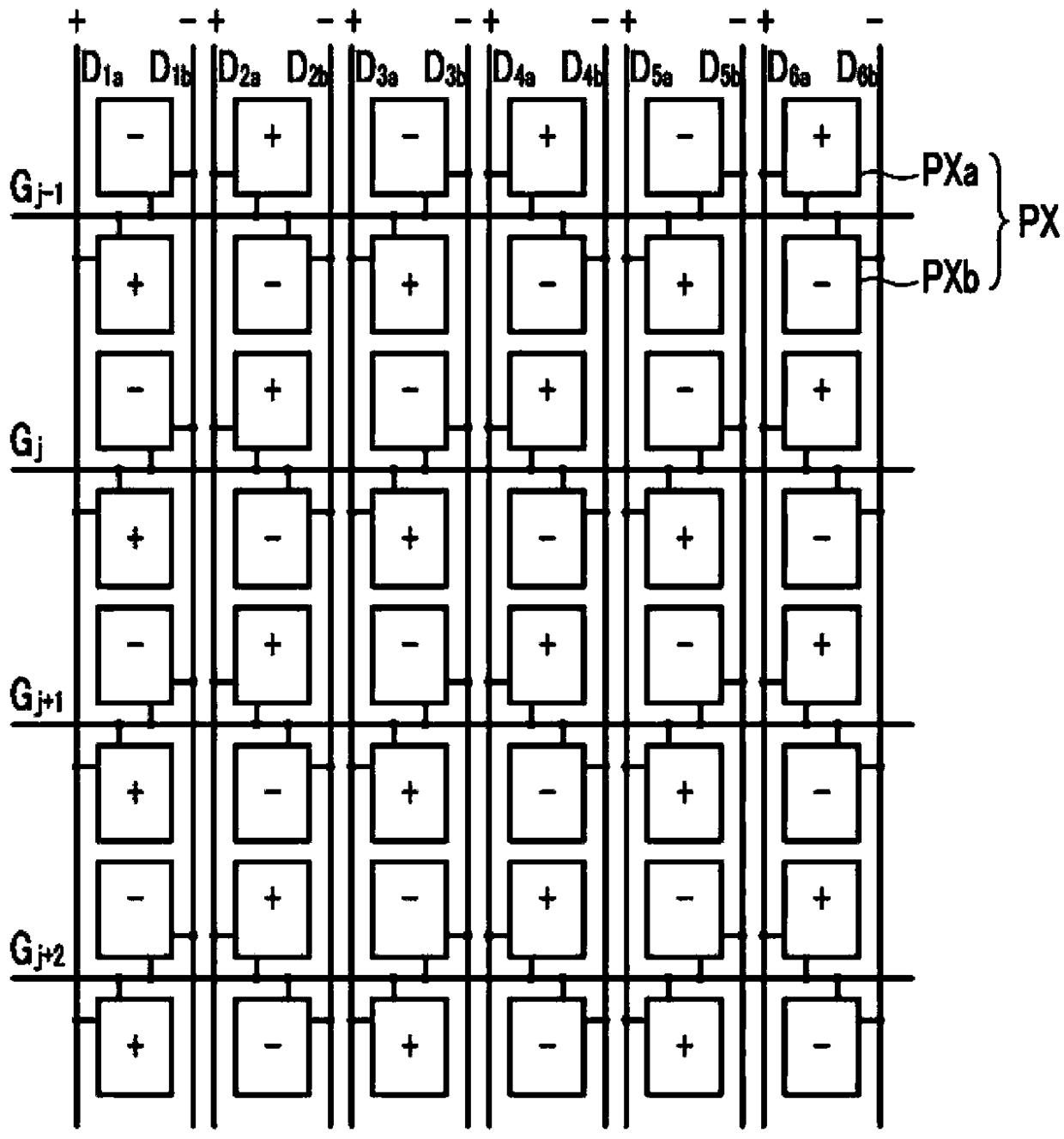
显示装置
授权日:
2016-01-20
公开(公告)号:
CN102914924B
申请日:
2006-12-05
公开(公告)日:
2016-01-20
当前申请(专利权)人:
三星显示有限公司
发明人:
白承洙 | 金东奎 | 李柏远
简单同族:
CN102914924A | CN102914924B | CN1979318A | CN1979318B | JP2007156483A | JP2012163972A | JP5025244B2 | JP5571117B2 | KR101189277B1 | KR1020070059340A | TW200723219A | TWI447687B | US20070132684A1 | US20110241979A1 | US8633884
简单同族成员数量:
15
简单同族被引用专利总数:
94
诉讼案件数:
0
法律状态/事件:
授权 | 权利转移