首页
专利数据库
产业人才
行业动态
产业政策法规
维权援助
个人中心
登录/注册
详情
文本
图像
标题:
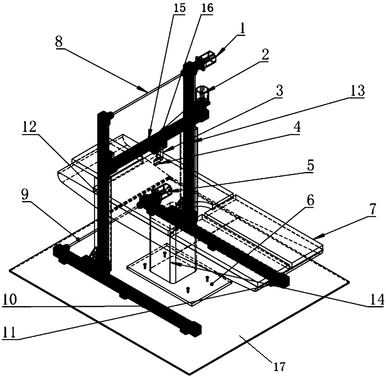
一种超声采图医疗装置及其控制方法
授权日:
1900-01-01
公开(公告)号:
CN108888292A
申请日:
2018-06-25
公开(公告)日:
2018-11-27
当前申请(专利权)人:
刘小明 | 全文兴 | 史文濂
发明人:
刘小明 | 全文兴 | 史文濂
简单同族:
CN108888292A
简单同族成员数量:
1
简单同族被引用专利总数:
0
诉讼案件数:
0
法律状态/事件:
实质审查