首页
专利数据库
产业人才
行业动态
产业政策法规
维权援助
个人中心
登录/注册
详情
文本
图像
标题:
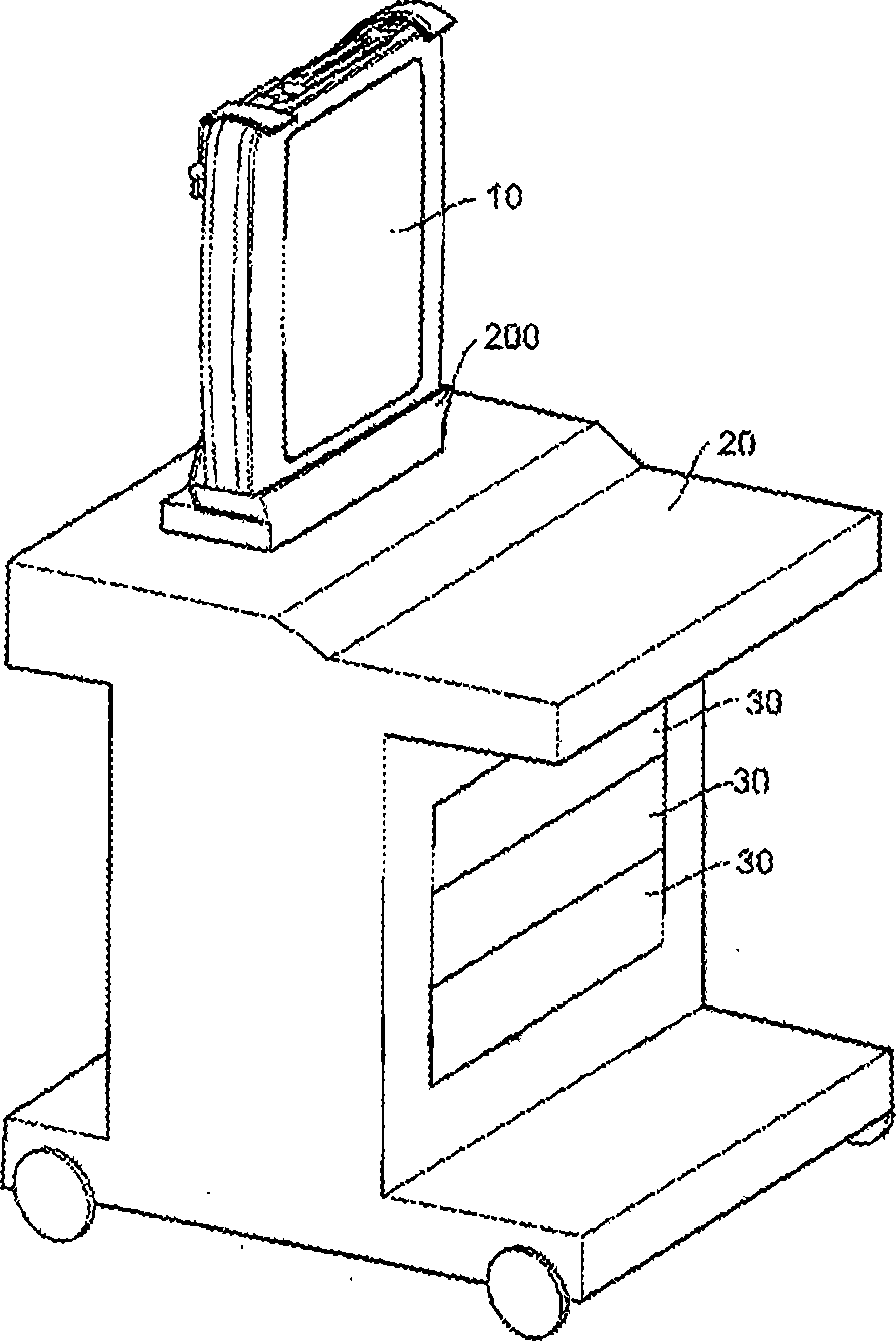
扩展坞与超声波诊断系统
授权日:
2014-07-09
公开(公告)号:
CN101569537B
申请日:
2008-04-29
公开(公告)日:
2014-07-09
当前申请(专利权)人:
GE医疗系统环球技术有限公司
发明人:
赵臻淞 | 刘兰萍
简单同族:
CN101569537A | CN101569537B | US20090270727A1 | US8182426
简单同族成员数量:
4
简单同族被引用专利总数:
76
诉讼案件数:
0
法律状态/事件:
授权