首页
专利数据库
产业人才
行业动态
产业政策法规
维权援助
个人中心
登录/注册
详情
文本
图像
标题:
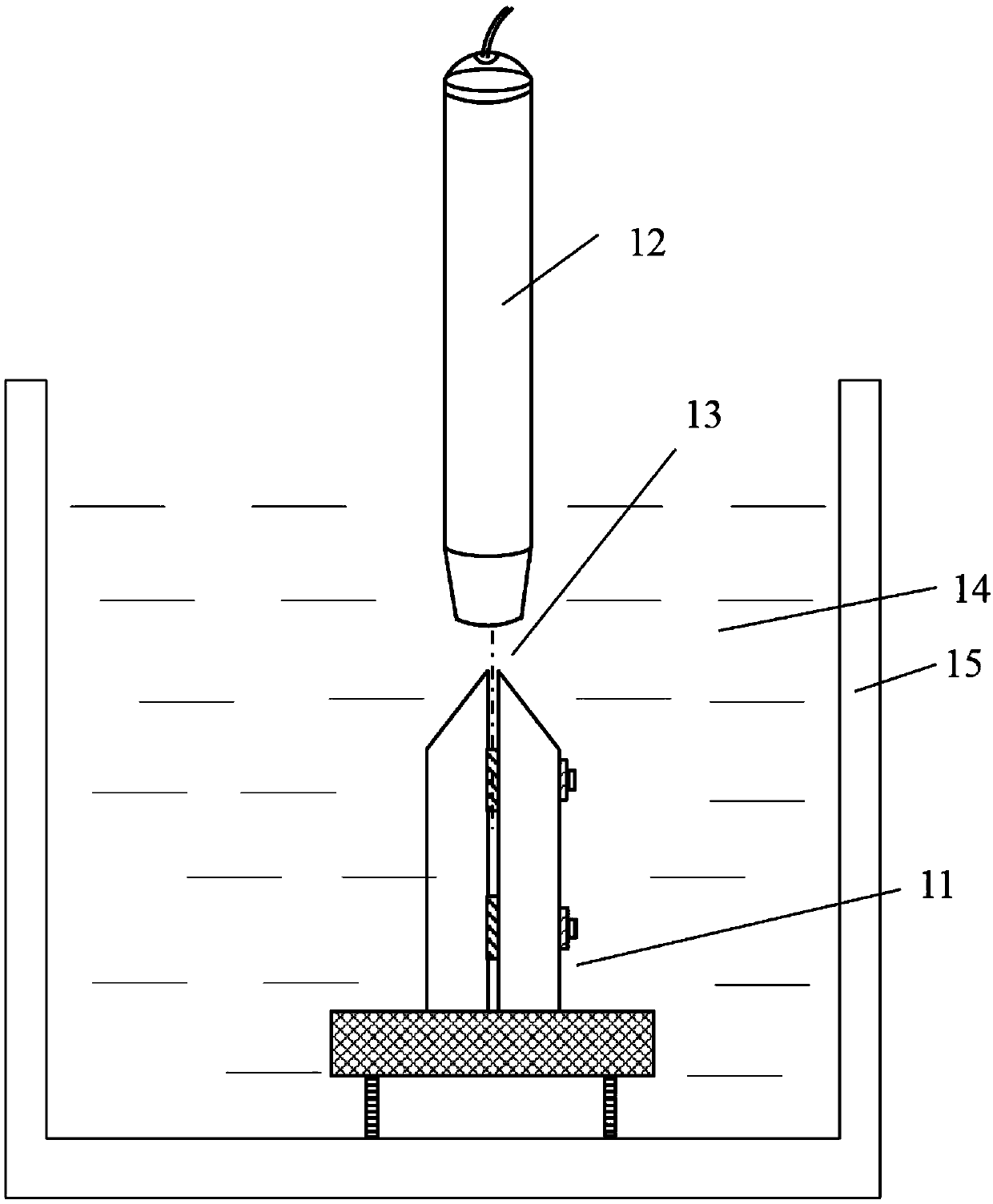
一种用于检测高频超声仪器侧向分辨力的成套试件
授权日:
1900-01-01
公开(公告)号:
CN110353726A
申请日:
2018-04-09
公开(公告)日:
2019-10-22
当前申请(专利权)人:
中国科学院声学研究所
发明人:
牛凤岐 | 朱承纲 | 程洋 | 张迪
简单同族:
CN110353726A
简单同族成员数量:
1
简单同族被引用专利总数:
0
诉讼案件数:
0
法律状态/事件:
实质审查