首页
专利数据库
产业人才
行业动态
产业政策法规
维权援助
个人中心
登录/注册
详情
文本
图像
标题:
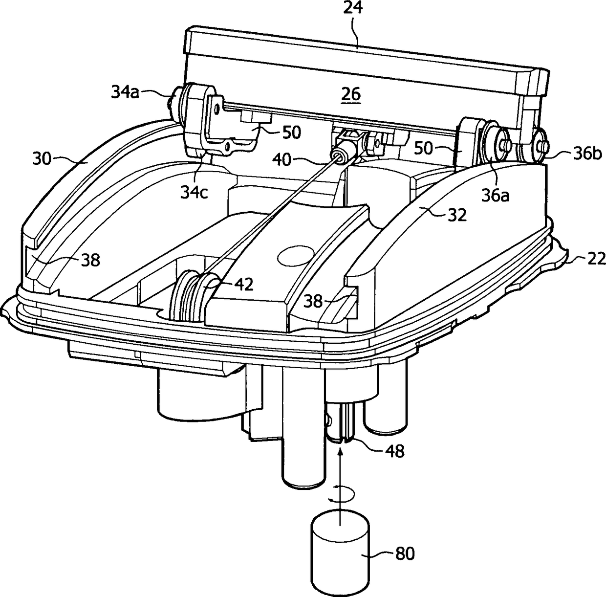
三维成像超声探头
授权日:
2014-03-19
公开(公告)号:
CN102112058B
申请日:
2009-07-22
公开(公告)日:
2014-03-19
当前申请(专利权)人:
皇家飞利浦电子股份有限公司
发明人:
J·哈特 | B·莫伊斯特 | D·克拉克 | D·阿西乌斯
简单同族:
CN102112058A | CN102112058B | EP2309929A1 | EP2309929B1 | JP2011529715A | JP2011529715A5 | JP6059432B2 | RU2011107743A | RU2524190C2 | US20110125025A1 | US8475384 | WO2010013175A1
简单同族成员数量:
12
简单同族被引用专利总数:
28
诉讼案件数:
0
法律状态/事件:
授权