首页
专利数据库
产业人才
行业动态
产业政策法规
维权援助
个人中心
登录/注册
详情
文本
图像
标题:
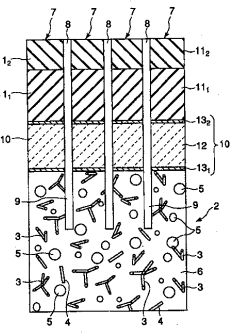
超声波探针和超声波诊断装置
授权日:
2010-06-16
公开(公告)号:
CN101172044B
申请日:
2007-10-31
公开(公告)日:
2010-06-16
当前申请(专利权)人:
株式会社东芝
发明人:
山下洋八 | 细野靖晴
简单同族:
CN101172044A | CN101172044B | JP2008118212A | JP4171038B2 | US20080098816A1
简单同族成员数量:
5
简单同族被引用专利总数:
57
诉讼案件数:
0
法律状态/事件:
未缴年费