首页
专利数据库
产业人才
行业动态
产业政策法规
维权援助
个人中心
登录/注册
详情
文本
图像
标题:
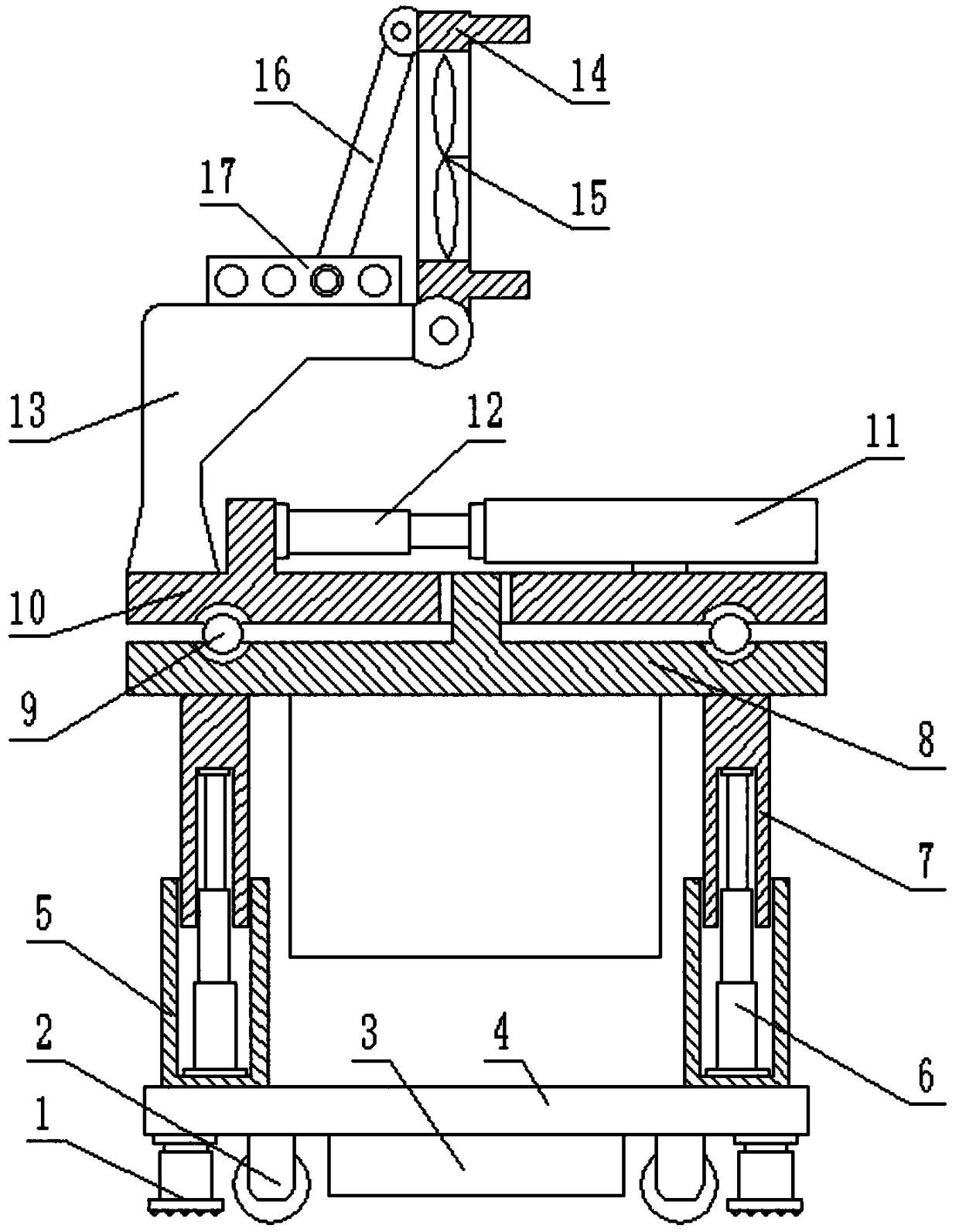
一种超声诊断仪操作台
授权日:
2019-03-08
公开(公告)号:
CN208582431U
申请日:
2017-07-15
公开(公告)日:
2019-03-08
当前申请(专利权)人:
伍水顺 | 韦艳华 | 于四清 | 赵迎春
发明人:
伍水顺 | 韦艳华 | 于四清 | 赵迎春
简单同族:
CN208582431U
简单同族成员数量:
1
简单同族被引用专利总数:
0
诉讼案件数:
0
法律状态/事件:
未缴年费