首页
专利数据库
产业人才
行业动态
产业政策法规
维权援助
个人中心
登录/注册
详情
文本
图像
标题:
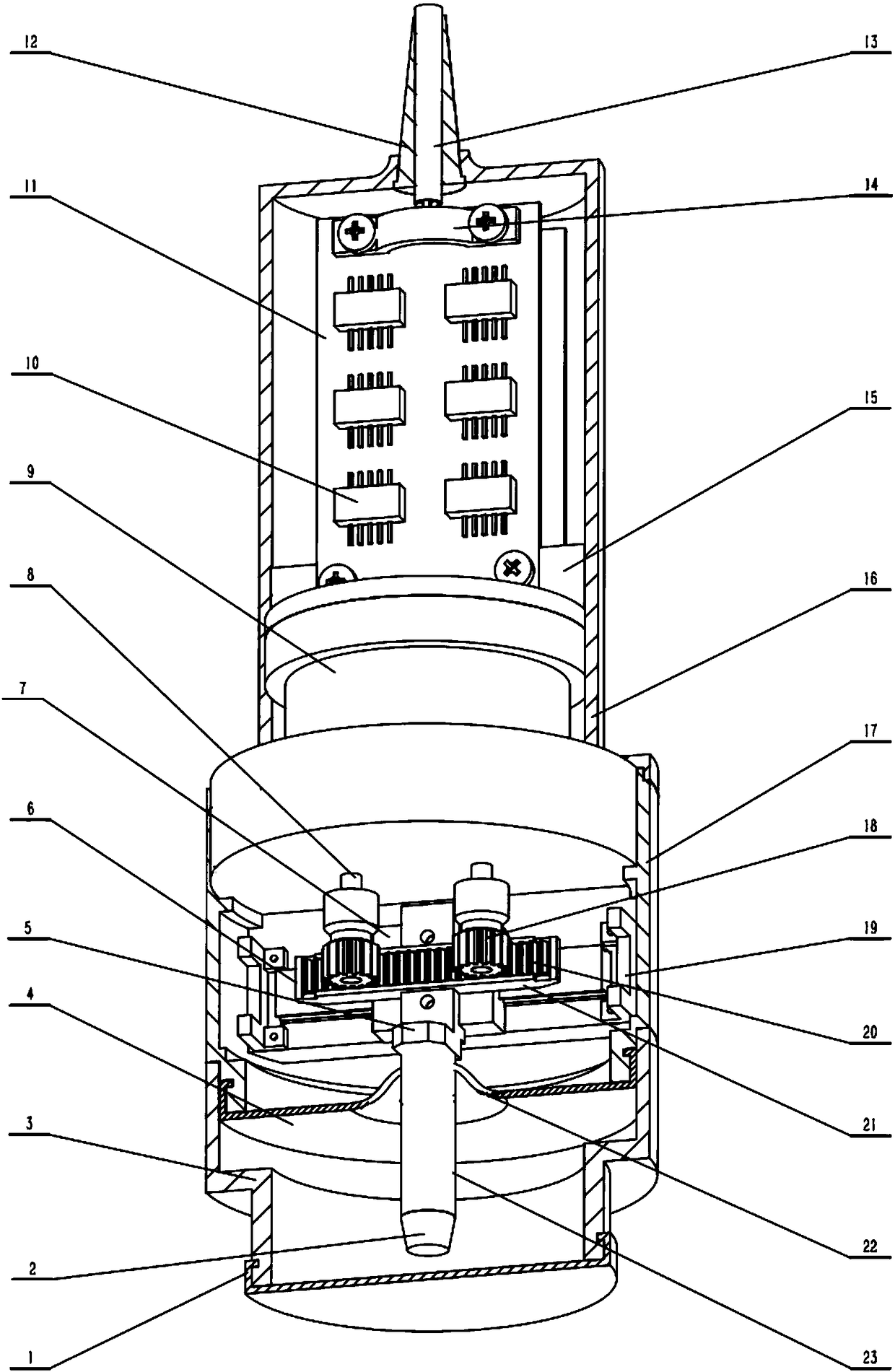
一种双驱式同步扫描超声探头
授权日:
2018-01-09
公开(公告)号:
CN206852614U
申请日:
2017-01-18
公开(公告)日:
2018-01-09
当前申请(专利权)人:
中国医学科学院生物医学工程研究所
发明人:
王延群 | 王韬 | 王晓春 | 周盛 | 计建军 | 杨军
简单同族:
CN206852614U
简单同族成员数量:
1
简单同族被引用专利总数:
0
诉讼案件数:
0
法律状态/事件:
授权