首页
专利数据库
产业人才
行业动态
产业政策法规
维权援助
个人中心
登录/注册
详情
文本
图像
标题:
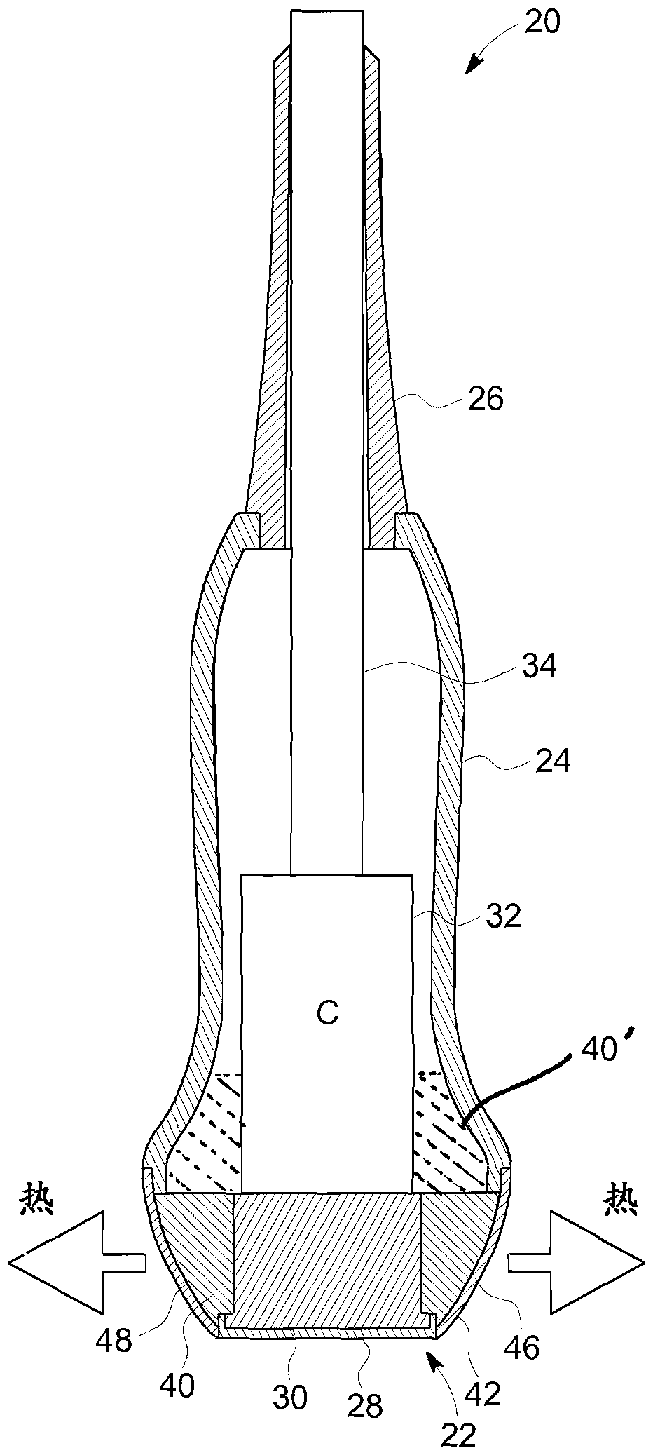
超声探头排热装置
授权日:
2018-02-16
公开(公告)号:
CN103417244B
申请日:
2013-05-10
公开(公告)日:
2018-02-16
当前申请(专利权)人:
通用电气公司
发明人:
D.维涅 | J.M.埃布拉尔
简单同族:
CN103417244A | CN103417244B | DE102013104857A1 | FR2990342A1 | US20130301395A1 | US9072487
简单同族成员数量:
6
简单同族被引用专利总数:
26
诉讼案件数:
0
法律状态/事件:
授权