首页
专利数据库
产业人才
行业动态
产业政策法规
维权援助
个人中心
登录/注册
详情
文本
图像
标题:
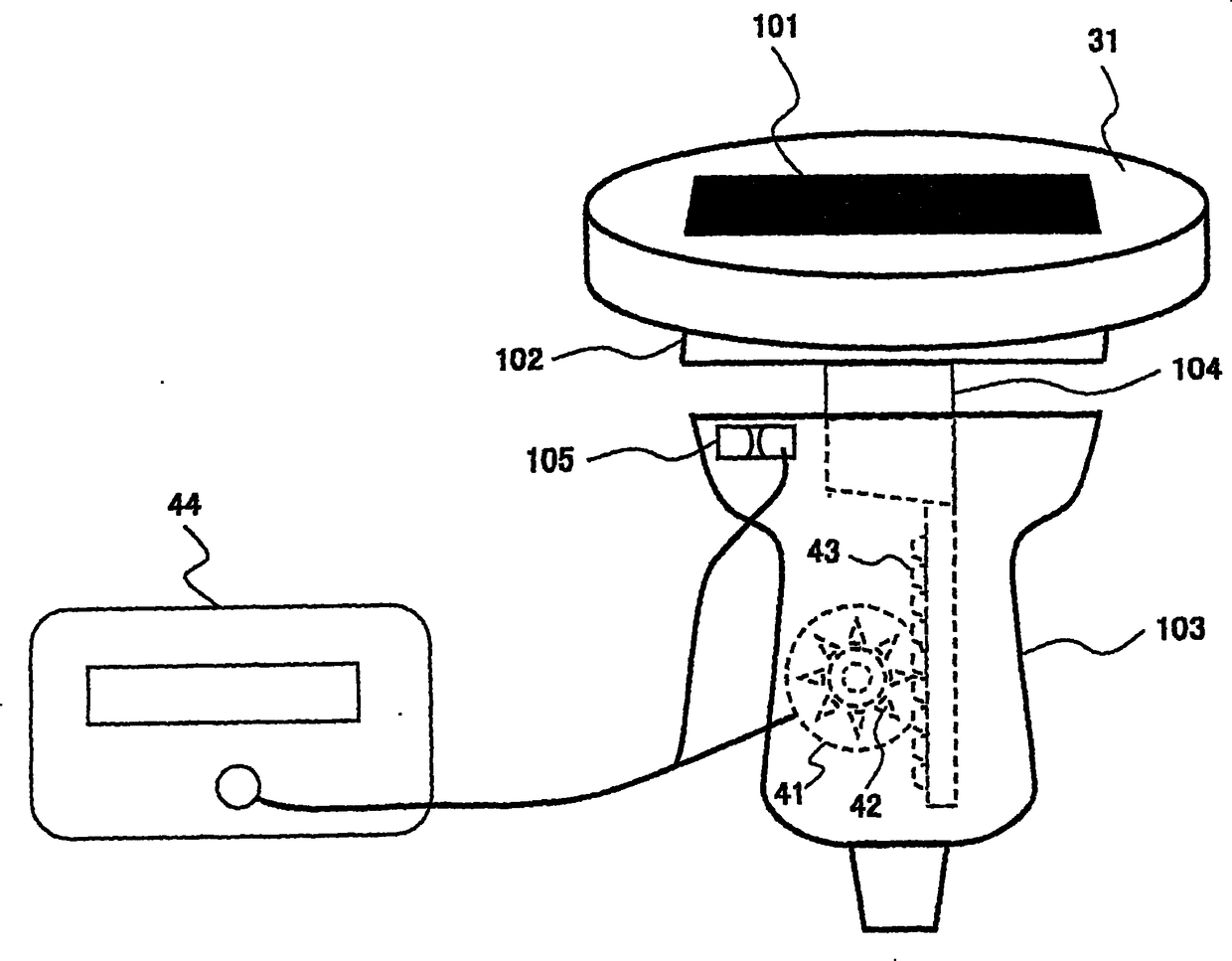
超声波诊断装置
授权日:
2013-03-06
公开(公告)号:
CN101317774B
申请日:
2004-05-31
公开(公告)日:
2013-03-06
当前申请(专利权)人:
株式会社日立制作所
发明人:
大坂卓司 | 松村刚 | 林哲矢 | 押木光博 | 汤浅超识 | 村山直之 | 椎名毅 | 玉野聪 | 三竹毅
简单同族:
CN100522069C | CN101317774A | CN101317774B | CN1798524A | JP2004351062A | JP2004351062A5 | JP3932485B2
简单同族成员数量:
7
简单同族被引用专利总数:
69
诉讼案件数:
0
法律状态/事件:
授权 | 权利转移