首页
专利数据库
产业人才
行业动态
产业政策法规
维权援助
个人中心
登录/注册
详情
文本
图像
标题:
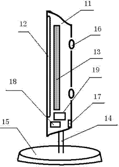
一种带过压保护装置的LCD显示屏
授权日:
2013-06-26
公开(公告)号:
CN203026072U
申请日:
2012-12-07
公开(公告)日:
2013-06-26
当前申请(专利权)人:
深圳市德宇开显示技术有限公司
发明人:
胡士勇
简单同族:
CN203026072U
简单同族成员数量:
1
简单同族被引用专利总数:
0
诉讼案件数:
0
法律状态/事件:
未缴年费 | 许可 | 权利转移