首页
专利数据库
产业人才
行业动态
产业政策法规
维权援助
个人中心
登录/注册
详情
文本
图像
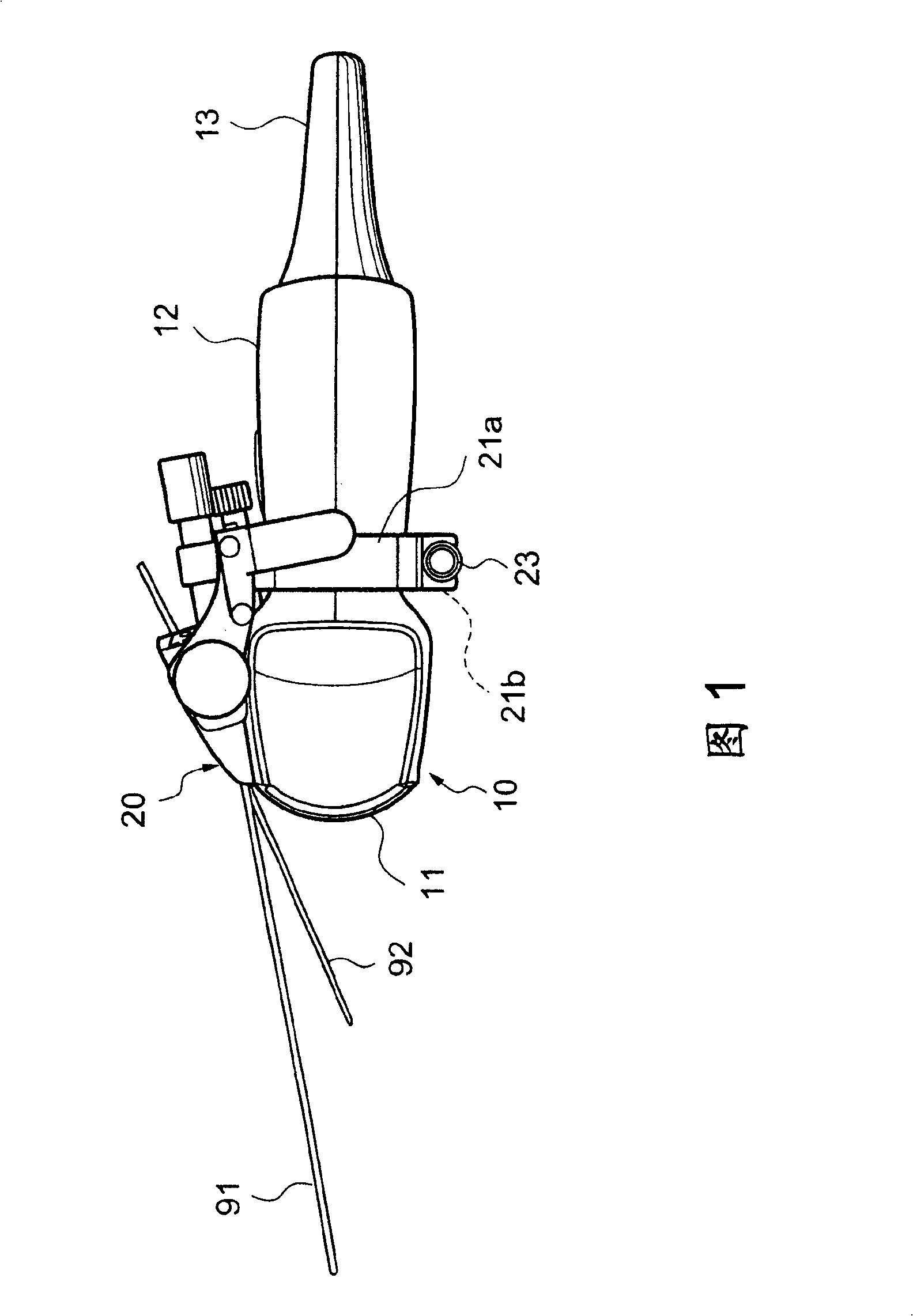
标题:
穿刺针座
授权日:
2008-10-29
公开(公告)号:
CN100428916C
申请日:
2004-07-16
公开(公告)日:
2008-10-29
当前申请(专利权)人:
东芝医疗系统株式会社
发明人:
小作秀树
简单同族:
CN100428916C | CN100539952C | CN100998513A | CN1575776A | JP2005034273A | JP4363921B2 | US20050059891A1 | US7691066
简单同族成员数量:
8
简单同族被引用专利总数:
83
诉讼案件数:
0
法律状态/事件:
授权 | 权利转移