首页
专利数据库
产业人才
行业动态
产业政策法规
维权援助
个人中心
登录/注册
详情
文本
图像
标题:
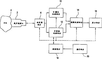
时间增益控制方法和设备以及超声成像设备
授权日:
2006-07-05
公开(公告)号:
CN1262243C
申请日:
2001-12-28
公开(公告)日:
2006-07-05
当前申请(专利权)人:
GE医疗系统环球技术有限公司
发明人:
雨宫慎一
简单同族:
CN1262243C | CN1362050A | DE60132550D1 | DE60132550T2 | EP1219972A2 | EP1219972A3 | EP1219972B1 | JP2002209900A | JP3827527B2 | KR100829292B1 | KR1020020055421A | US20020087218A1 | US6933934
简单同族成员数量:
13
简单同族被引用专利总数:
28
诉讼案件数:
0
法律状态/事件:
未缴年费