首页
专利数据库
产业人才
行业动态
产业政策法规
维权援助
个人中心
登录/注册
详情
文本
图像
标题:
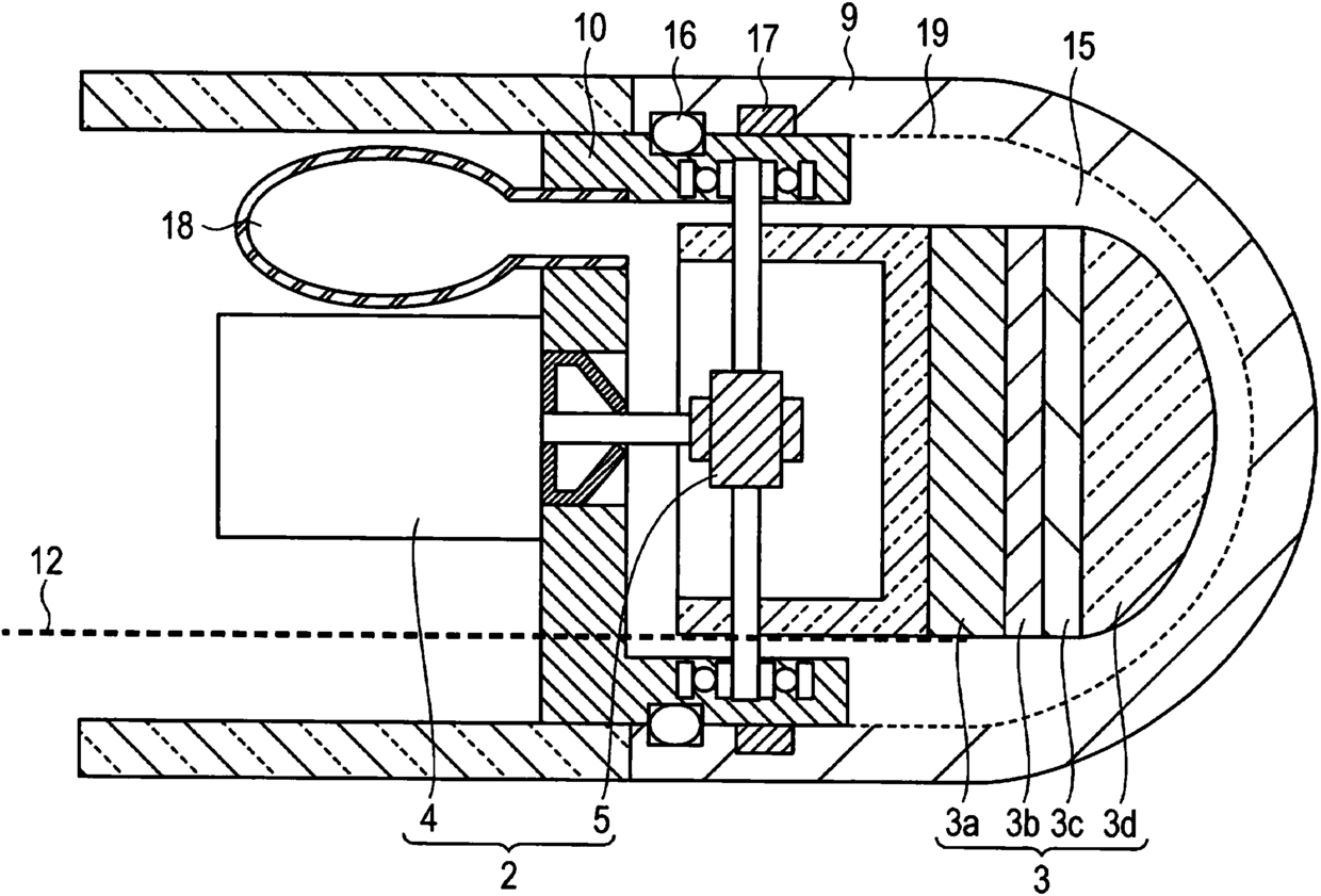
超声波探头
授权日:
1900-01-01
公开(公告)号:
CN107440739A
申请日:
2017-04-11
公开(公告)日:
2017-12-08
当前申请(专利权)人:
柯尼卡美能达株式会社
发明人:
藤井清 | 佐藤利春
简单同族:
CN107440739A | JP2017189610A | US20170290565A1
简单同族成员数量:
3
简单同族被引用专利总数:
0
诉讼案件数:
0
法律状态/事件:
实质审查