首页
专利数据库
产业人才
行业动态
产业政策法规
维权援助
个人中心
登录/注册
详情
文本
图像
标题:
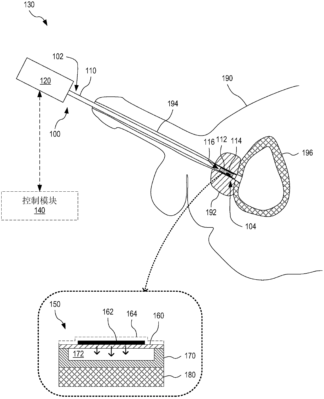
具有CMUT阵列和固态冷却的医疗设备以及相关方法和系统
授权日:
1900-01-01
公开(公告)号:
CN111372523A
申请日:
2018-09-13
公开(公告)日:
2020-07-03
当前申请(专利权)人:
奥卓霍姆有限责任公司
发明人:
阿里夫·桑利·埃尔根 | 安德烈·科里 | 布特鲁斯·T·库里-雅库布 | 约翰·N·三世·艾温
简单同族:
CN111372523A
简单同族成员数量:
1
简单同族被引用专利总数:
0
诉讼案件数:
0
法律状态/事件:
公开