首页
专利数据库
产业人才
行业动态
产业政策法规
维权援助
个人中心
登录/注册
详情
文本
图像
标题:
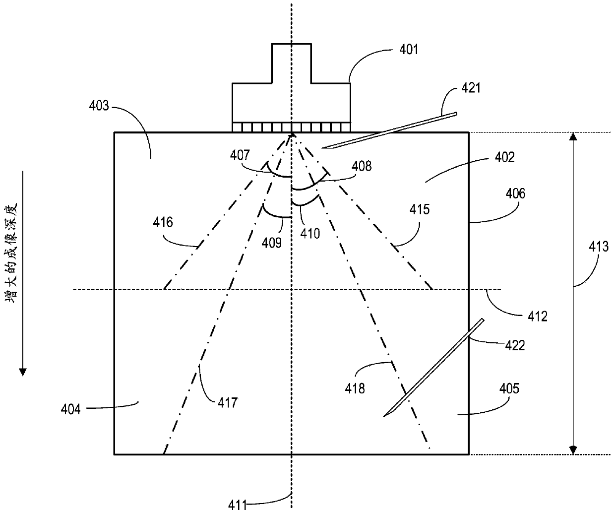
用于自动波束转向的方法和系统
授权日:
1900-01-01
公开(公告)号:
CN111195138A
申请日:
2019-11-08
公开(公告)日:
2020-05-26
当前申请(专利权)人:
通用电气公司
发明人:
罗伯特·约翰·安德森 | 梅纳凯姆·哈尔曼 | 辛西娅·欧文
简单同族:
CN111195138A | US20200155118A1
简单同族成员数量:
2
简单同族被引用专利总数:
0
诉讼案件数:
0
法律状态/事件:
实质审查