标题:
包括经皮探针的医疗系统
授权日:
1900-01-01
公开(公告)号:
CN102164637A
申请日:
2009-04-09
公开(公告)日:
2011-08-24
当前申请(专利权)人:
朱利安·伊特兹科维特兹 | 巴黎公共医疗救助机构 | 皮埃尔和玛利居里大学(巴黎第六大学)
发明人:
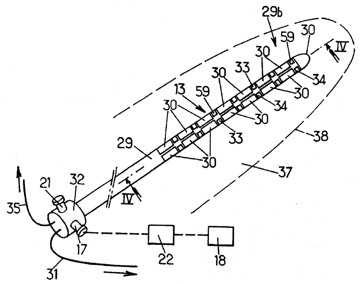
亚历山大·卡彭蒂厄 | 朱利安·伊特兹科维特兹
简单同族:
CA2721271A1 | CA2721271C | CN102164637A | CN102164637B | CN105148416A | CN105148416B | EP2268361A1 | EP2268361B1 | EP2268361B8 | HK1152215A | HK1217925A | IL208552A | IL208552D0 | JP2011518583A | JP5570496B2 | US20110040172A1 | US8942781 | WO2009125002A1
简单同族成员数量:
18
简单同族被引用专利总数:
54
诉讼案件数:
0
法律状态/事件:
授权