首页
专利数据库
产业人才
行业动态
产业政策法规
维权援助
个人中心
登录/注册
详情
文本
图像
标题:
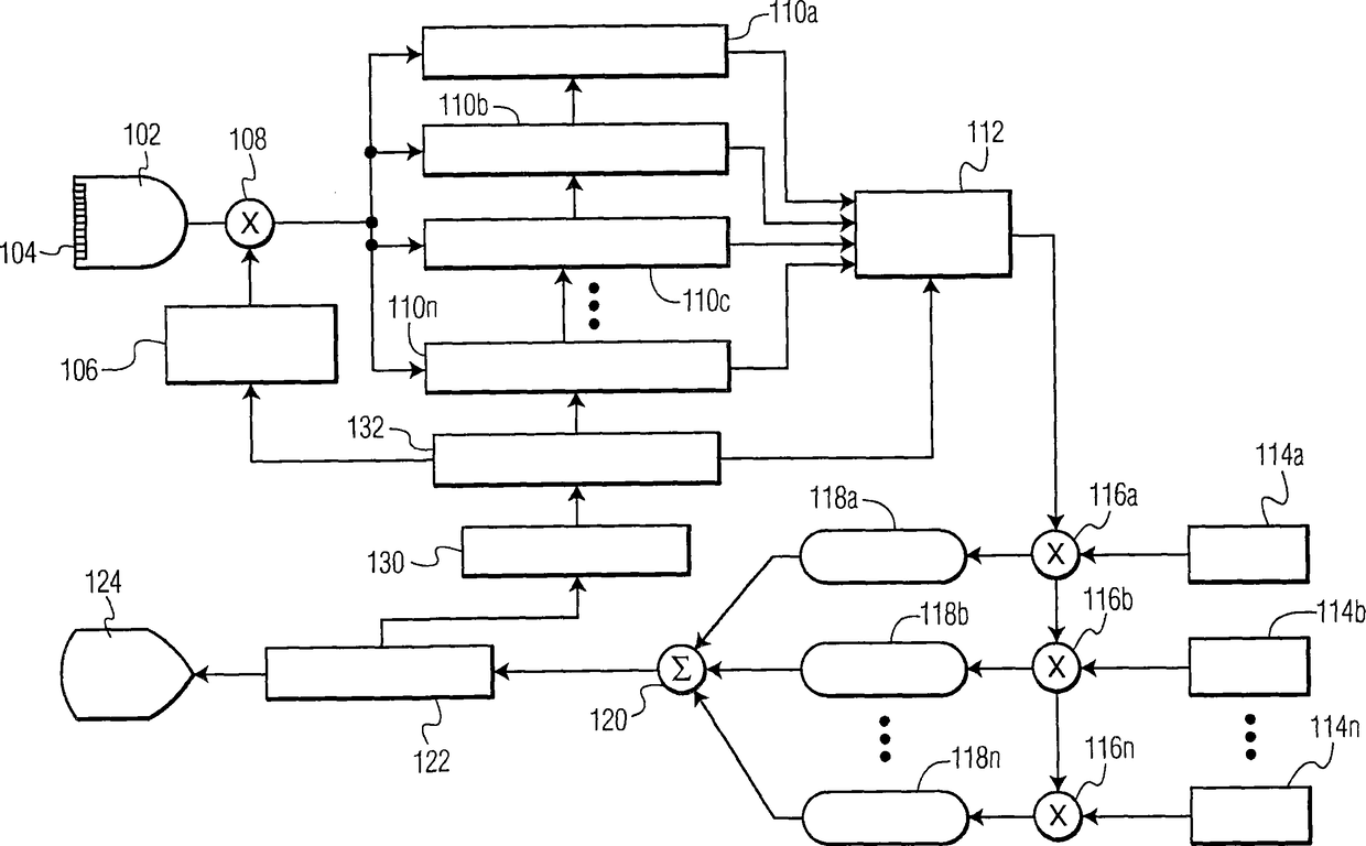
具有运动补偿的超声合成发射聚焦
授权日:
2012-07-18
公开(公告)号:
CN101442937B
申请日:
2007-04-17
公开(公告)日:
2012-07-18
当前申请(专利权)人:
皇家飞利浦电子股份有限公司
发明人:
M・伯切 | J・罗贝尔
简单同族:
CN101442937A | CN101442937B | EP2019625A2 | EP2019625A4 | EP2019625B1 | JP2009536854A | JP4975098B2 | KR1020090016666A | US20090099456A1 | US20150305720A1 | US9107564 | US9345455 | WO2007133879A2 | WO2007133879A3
简单同族成员数量:
14
简单同族被引用专利总数:
34
诉讼案件数:
0
法律状态/事件:
授权