首页
专利数据库
产业人才
行业动态
产业政策法规
维权援助
个人中心
登录/注册
详情
文本
图像
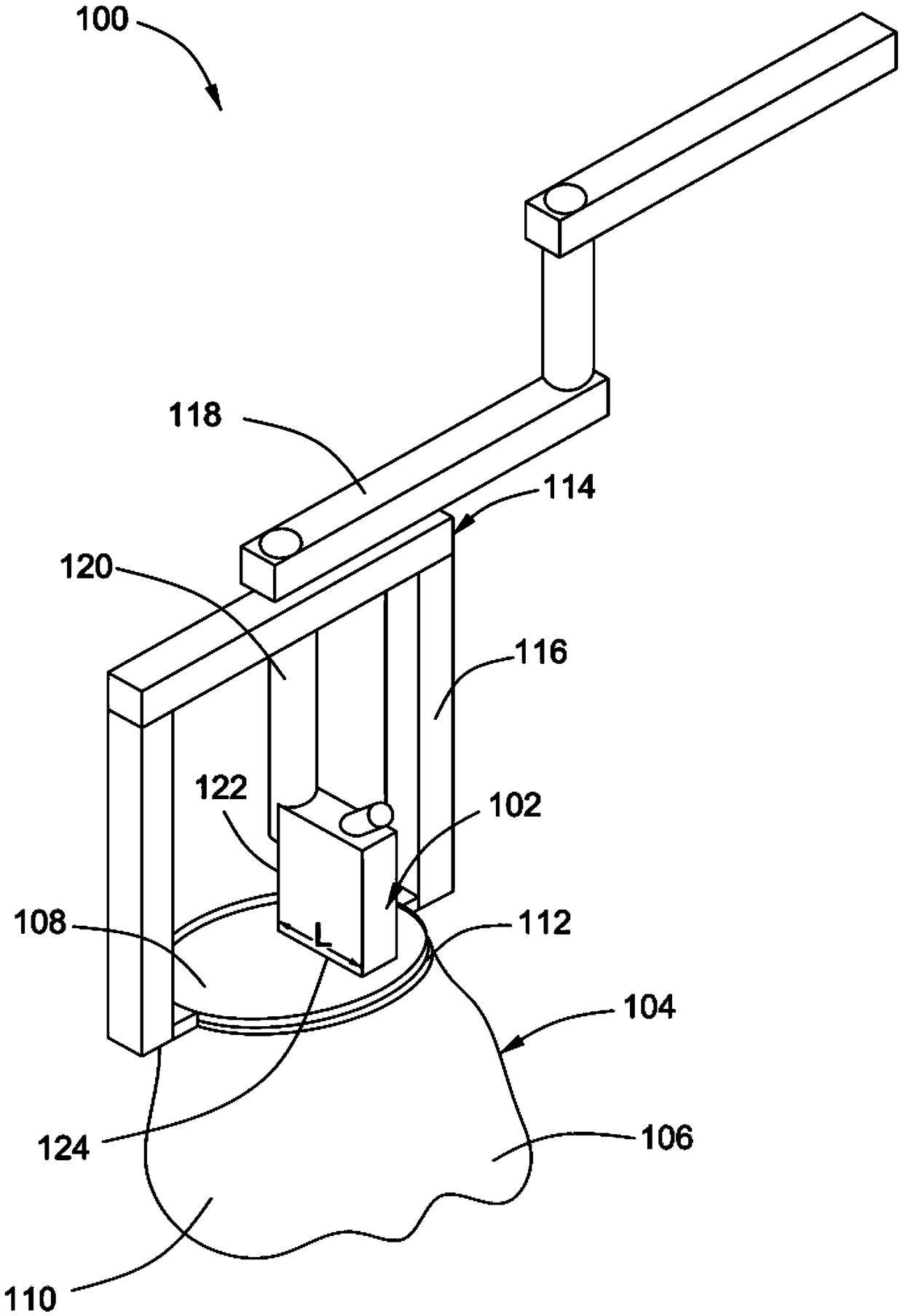
标题:
乳房超声扫描装置及方法
授权日:
2016-05-18
公开(公告)号:
CN103845082B
申请日:
2012-11-30
公开(公告)日:
2016-05-18
当前申请(专利权)人:
通用电气公司
发明人:
韩晓东 | 刘逢甦 | 程刚 | 叶菁
简单同族:
CN103845082A | CN103845082B
简单同族成员数量:
2
简单同族被引用专利总数:
0
诉讼案件数:
0
法律状态/事件:
授权