首页
专利数据库
产业人才
行业动态
产业政策法规
维权援助
个人中心
登录/注册
详情
文本
图像
标题:
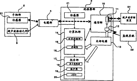
超声波探针、超声波诊断装置、超声波探针监视系统、以及超声波探针的状态管理方法
授权日:
2010-06-02
公开(公告)号:
CN101143101B
申请日:
2007-08-24
公开(公告)日:
2010-06-02
当前申请(专利权)人:
株式会社东芝 | 东芝医疗系统株式会社
发明人:
宮岛泰夫
简单同族:
CN101143101A | CN101143101B | EP1900327A1 | JP2008061938A | KR101028658B1 | KR1020080023633A | US20080064955A1
简单同族成员数量:
7
简单同族被引用专利总数:
54
诉讼案件数:
0
法律状态/事件:
未缴年费