首页
专利数据库
产业人才
行业动态
产业政策法规
维权援助
个人中心
登录/注册
详情
文本
图像
标题:
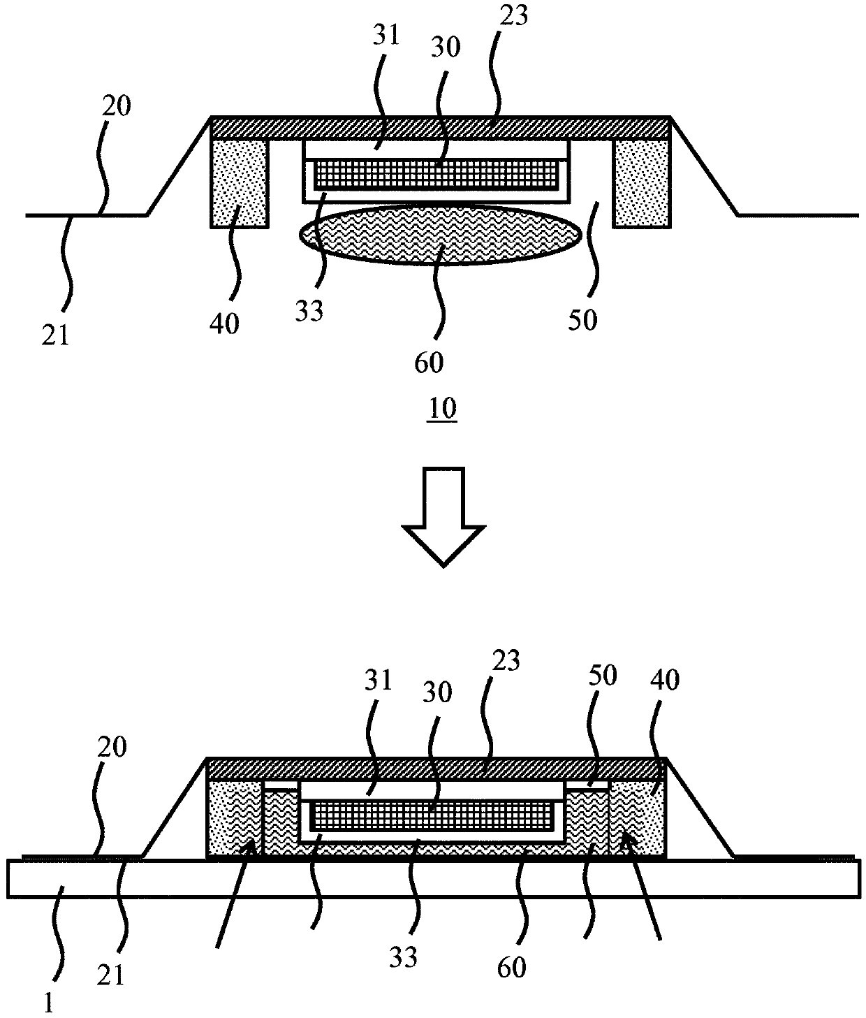
可穿戴超声贴片以及这种贴片的应用方法
授权日:
1900-01-01
公开(公告)号:
CN110996803A
申请日:
2018-08-08
公开(公告)日:
2020-04-10
当前申请(专利权)人:
皇家飞利浦有限公司
发明人:
F·J·G·哈肯斯 | L·J·A·M·贝克尔斯 | E·T·M·贝尔本
简单同族:
CN110996803A | EP3664716A1 | US20200163647A1 | WO2019030282A1
简单同族成员数量:
4
简单同族被引用专利总数:
0
诉讼案件数:
0
法律状态/事件:
公开