首页
专利数据库
产业人才
行业动态
产业政策法规
维权援助
个人中心
登录/注册
详情
文本
图像
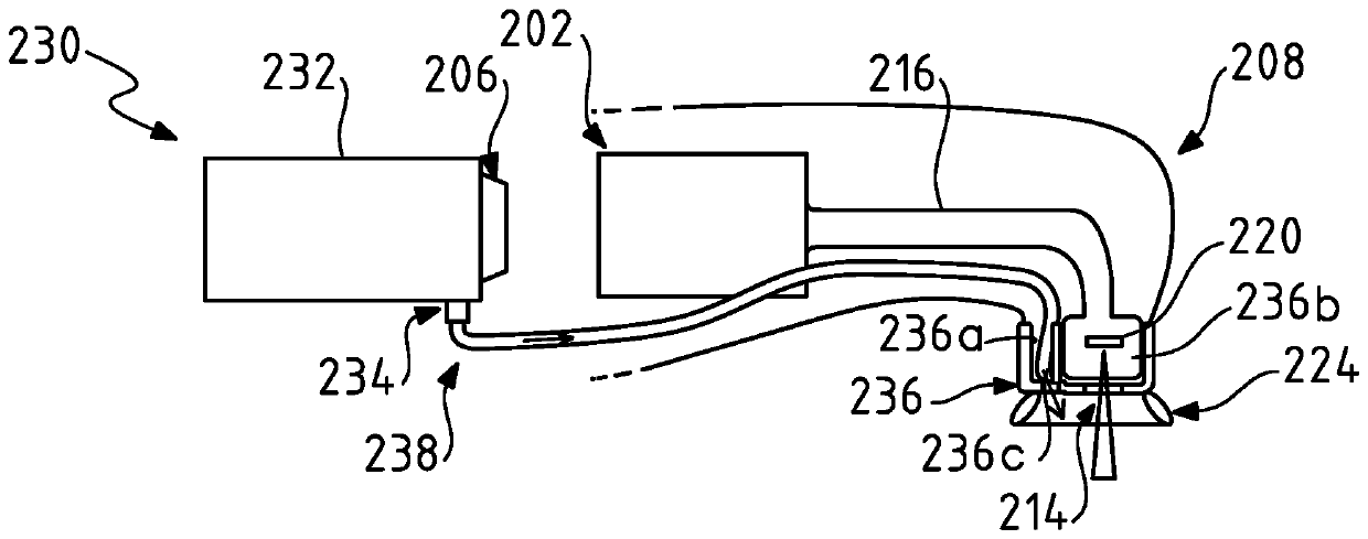
标题:
用于内口腔软组织成像的超声波探针
授权日:
1900-01-01
公开(公告)号:
CN110505852A
申请日:
2018-02-15
公开(公告)日:
2019-11-26
当前申请(专利权)人:
锐珂牙科技术顶阔有限公司
发明人:
J-M.英格尔斯 | D.比亚瓦 | J.R.雅克 | V.C.王 | J-M.格雷瓜尔 | F.勒瓦索 | F.奥桑
简单同族:
CN110505852A | EP3582718A1 | JP2020507418A | WO2018149948A1
简单同族成员数量:
4
简单同族被引用专利总数:
0
诉讼案件数:
0
法律状态/事件:
实质审查