首页
专利数据库
产业人才
行业动态
产业政策法规
维权援助
个人中心
登录/注册
详情
文本
图像
标题:
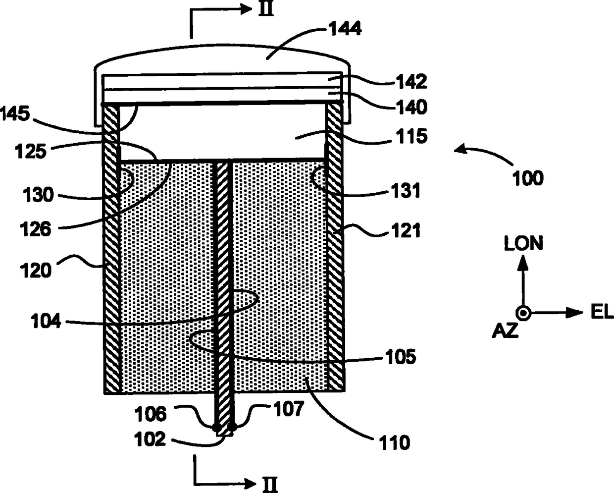
诊断超声换能器
授权日:
2012-12-12
公开(公告)号:
CN101361664B
申请日:
2008-08-04
公开(公告)日:
2012-12-12
当前申请(专利权)人:
深圳迈瑞生物医疗电子股份有限公司
发明人:
郭小骢
简单同族:
CN101361664A | CN101361664B | EP2025414A1 | EP2025414B1 | US20090034370A1 | US20100327698A1 | US20110088248A1 | US20130145611A1 | US7834522 | US8084923 | US8347483 | US8656578
简单同族成员数量:
12
简单同族被引用专利总数:
98
诉讼案件数:
0
法律状态/事件:
授权 | 权利转移