首页
专利数据库
产业人才
行业动态
产业政策法规
维权援助
个人中心
登录/注册
详情
文本
图像
标题:
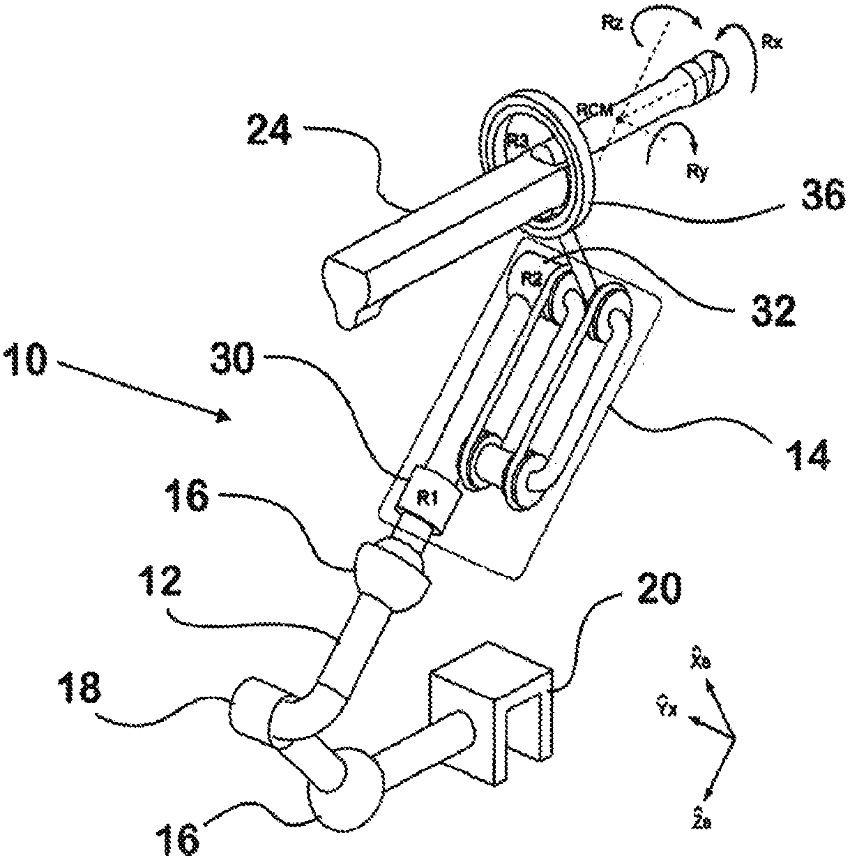
用于医学图像扫描和图像引导定位的运动机器人遥控中心
授权日:
2016-02-10
公开(公告)号:
CN103200877B
申请日:
2011-11-11
公开(公告)日:
2016-02-10
当前申请(专利权)人:
约翰霍普金斯大学
发明人:
丹·斯托亚诺维奇 | 多鲁·彼得里绍尔 | 菲利克斯·谢弗 | 金天祐 | 米索·韩
简单同族:
CN103200877A | CN103200877B | EP2637571A2 | EP2637571A4 | EP2637571B1 | KR1020140024837A | KR102048352B1 | US20140039314A1 | WO2012065058A2 | WO2012065058A3
简单同族成员数量:
10
简单同族被引用专利总数:
41
诉讼案件数:
0
法律状态/事件:
授权