首页
专利数据库
产业人才
行业动态
产业政策法规
维权援助
个人中心
登录/注册
详情
文本
图像
标题:
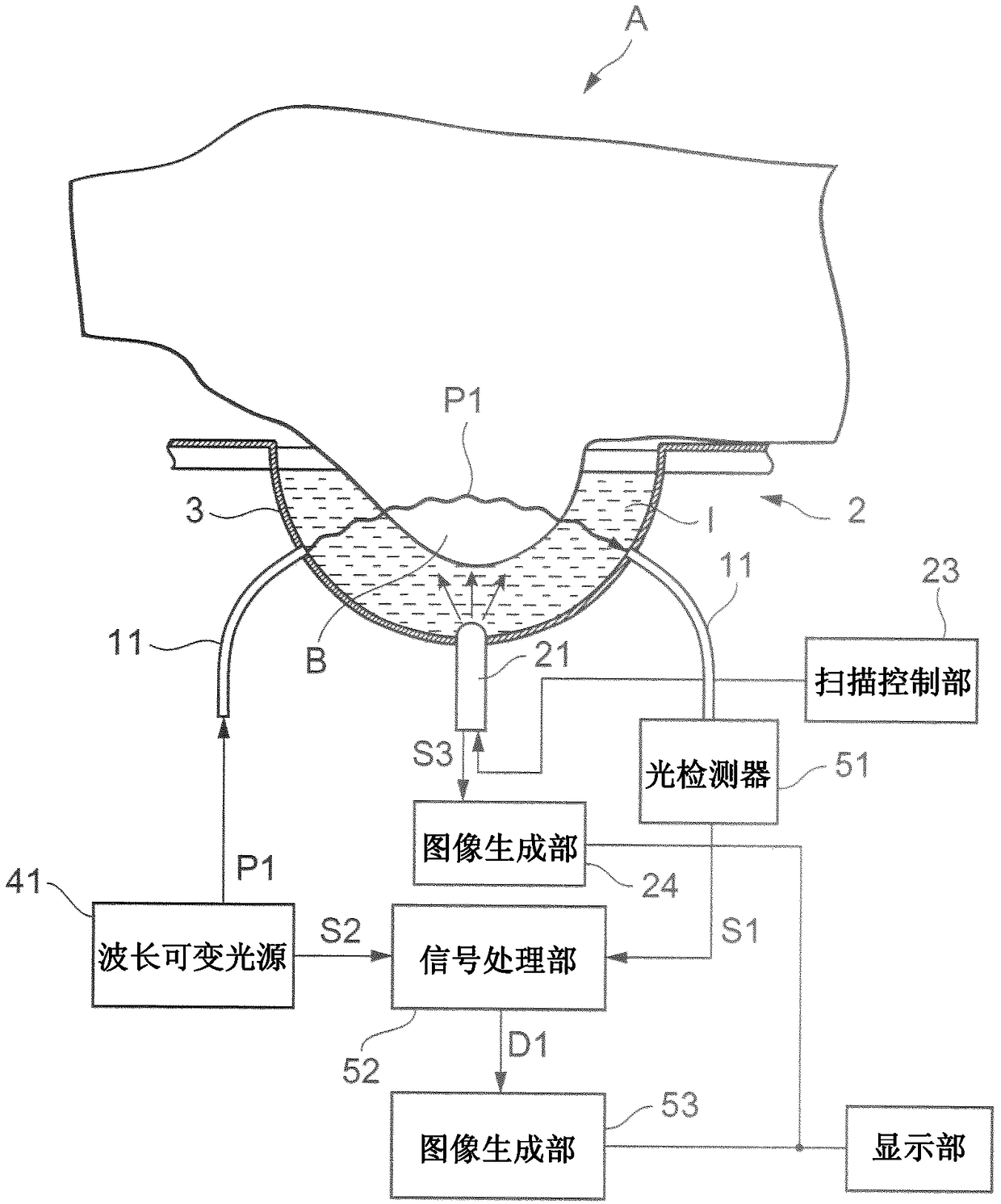
乳房测量装置
授权日:
2015-08-26
公开(公告)号:
CN103179908B
申请日:
2011-10-18
公开(公告)日:
2015-08-26
当前申请(专利权)人:
浜松光子学株式会社
发明人:
铃木俊彦 | 山下丰 | 上田之雄 | 矢卷悦子 | 山下大辅 | 佳元健治 | 阪原晴海 | 小仓广之 | 那须初子
简单同族:
CN103179908A | CN103179908B | EP2630917A1 | EP2630917A4 | JP2012085965A | JP5648957B2 | US20130253322A1 | US9427213 | WO2012053518A1
简单同族成员数量:
9
简单同族被引用专利总数:
30
诉讼案件数:
0
法律状态/事件:
授权