首页
专利数据库
产业人才
行业动态
产业政策法规
维权援助
个人中心
登录/注册
详情
文本
图像
标题:
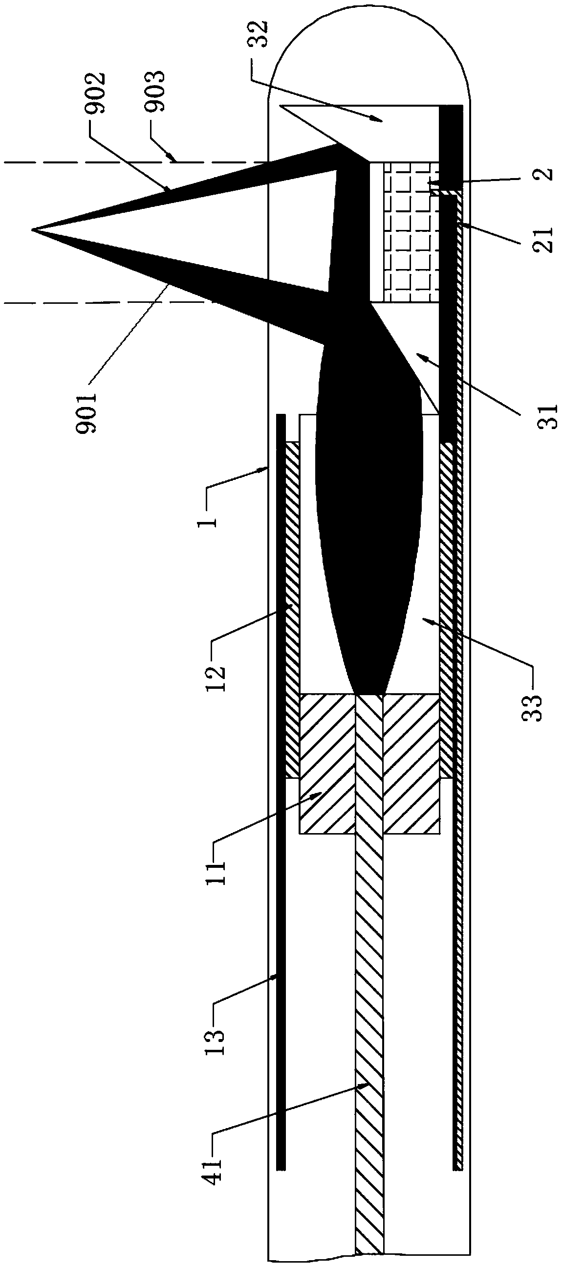
一种光声共轴内窥装置和光声共轴内窥系统
授权日:
2019-12-03
公开(公告)号:
CN209712872U
申请日:
2018-12-18
公开(公告)日:
2019-12-03
当前申请(专利权)人:
深圳先进技术研究院
发明人:
王柏权 | 龚小竞 | 林日强 | 张建辉 | 陈宁波 | 舒承有
简单同族:
CN209712872U
简单同族成员数量:
1
简单同族被引用专利总数:
0
诉讼案件数:
0
法律状态/事件:
授权