首页
专利数据库
产业人才
行业动态
产业政策法规
维权援助
个人中心
登录/注册
详情
文本
图像
标题:
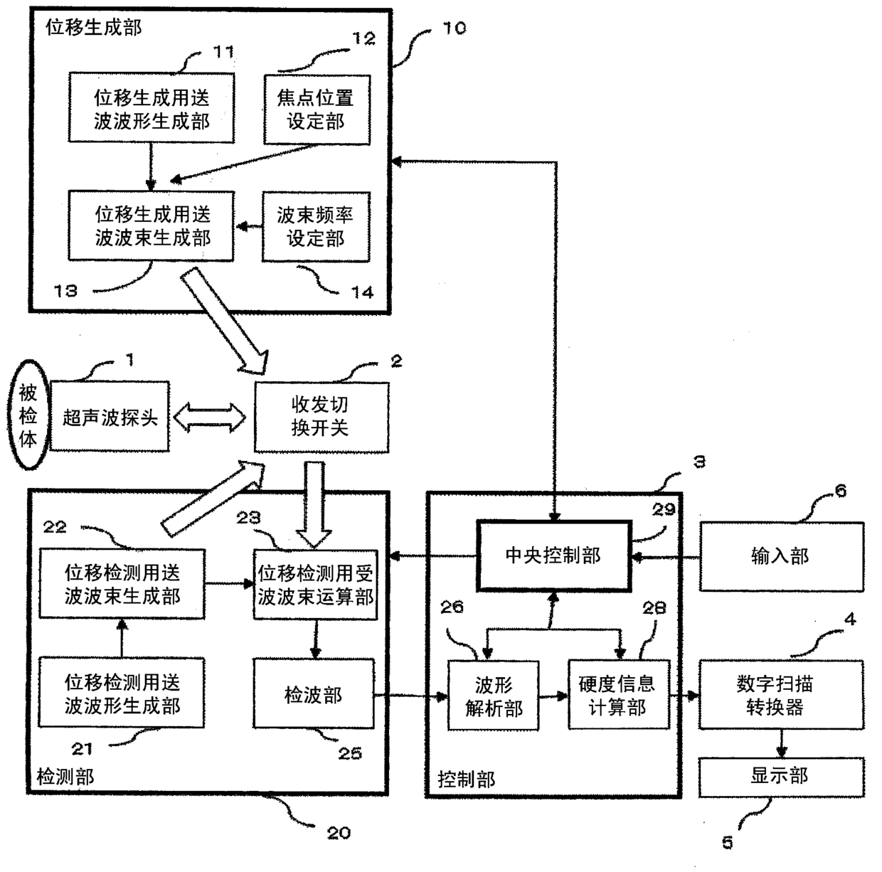
超声波诊断装置以及收发方法
授权日:
2016-10-12
公开(公告)号:
CN104302233B
申请日:
2014-01-29
公开(公告)日:
2016-10-12
当前申请(专利权)人:
株式会社日立制作所
发明人:
田原麻梨江 | 吉川秀树 | 浅见玲衣 | 桥场邦夫 | 鳟泽裕
简单同族:
CN104302233A | CN104302233B | EP2965694A1 | EP2965694A4 | JP5753633B2 | JPWO2014136502A1 | US20150173718A1 | US9895137 | WO2014136502A1
简单同族成员数量:
9
简单同族被引用专利总数:
27
诉讼案件数:
0
法律状态/事件:
未缴年费 | 权利转移