首页
专利数据库
产业人才
行业动态
产业政策法规
维权援助
个人中心
登录/注册
详情
文本
图像
标题:
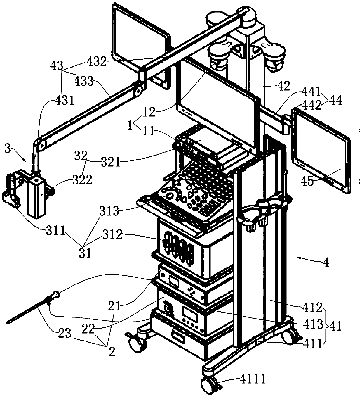
具有彩色多普勒超声功能的一体化外视镜腹腔镜系统
授权日:
2020-03-27
公开(公告)号:
CN210185721U
申请日:
2019-02-20
公开(公告)日:
2020-03-27
当前申请(专利权)人:
广州乔铁医疗科技有限公司
发明人:
乔铁 | 雷凌云 | 高瑞 | 乔景亮
简单同族:
CN210185721U
简单同族成员数量:
1
简单同族被引用专利总数:
0
诉讼案件数:
0
法律状态/事件:
授权