首页
专利数据库
产业人才
行业动态
产业政策法规
维权援助
个人中心
登录/注册
详情
文本
图像
标题:
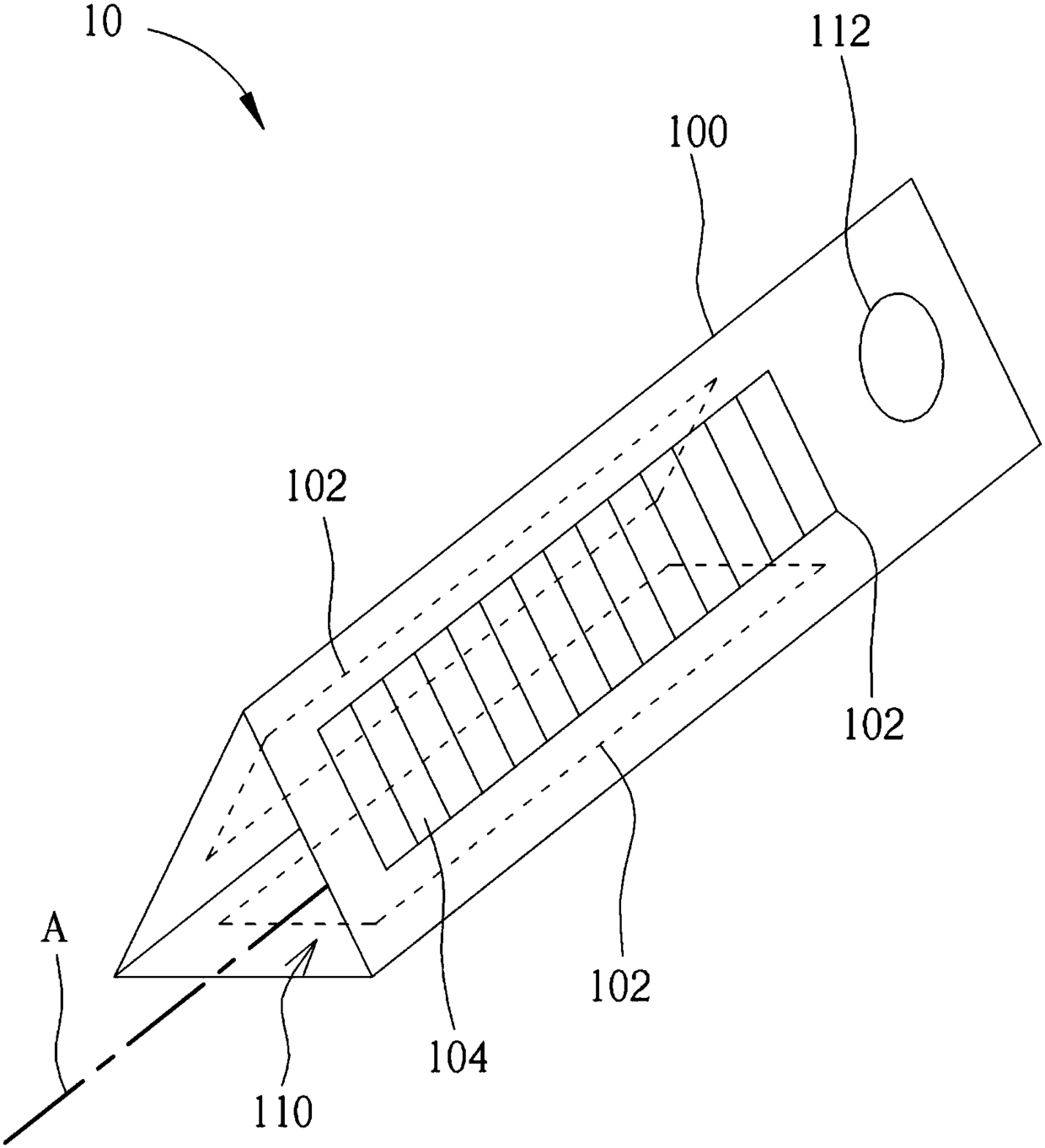
超音波导管及医疗系统
授权日:
1900-01-01
公开(公告)号:
CN105852911A
申请日:
2016-05-26
公开(公告)日:
2016-08-17
当前申请(专利权)人:
苏州佳世达电通有限公司 | 佳世达科技股份有限公司
发明人:
刘建宏
简单同族:
CN105852911A | CN105852911B
简单同族成员数量:
2
简单同族被引用专利总数:
0
诉讼案件数:
0
法律状态/事件:
授权