首页
专利数据库
产业人才
行业动态
产业政策法规
维权援助
个人中心
登录/注册
详情
文本
图像
标题:
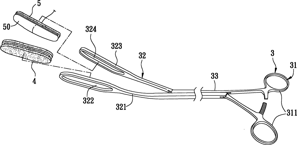
病变搜寻装置
授权日:
1900-01-01
公开(公告)号:
CN102335013A
申请日:
2010-07-21
公开(公告)日:
2012-02-01
当前申请(专利权)人:
财团法人奇美医院
发明人:
苏英杰
简单同族:
CN102335013A | CN102335013B
简单同族成员数量:
2
简单同族被引用专利总数:
0
诉讼案件数:
0
法律状态/事件:
未缴年费