首页
专利数据库
产业人才
行业动态
产业政策法规
维权援助
个人中心
登录/注册
详情
文本
图像
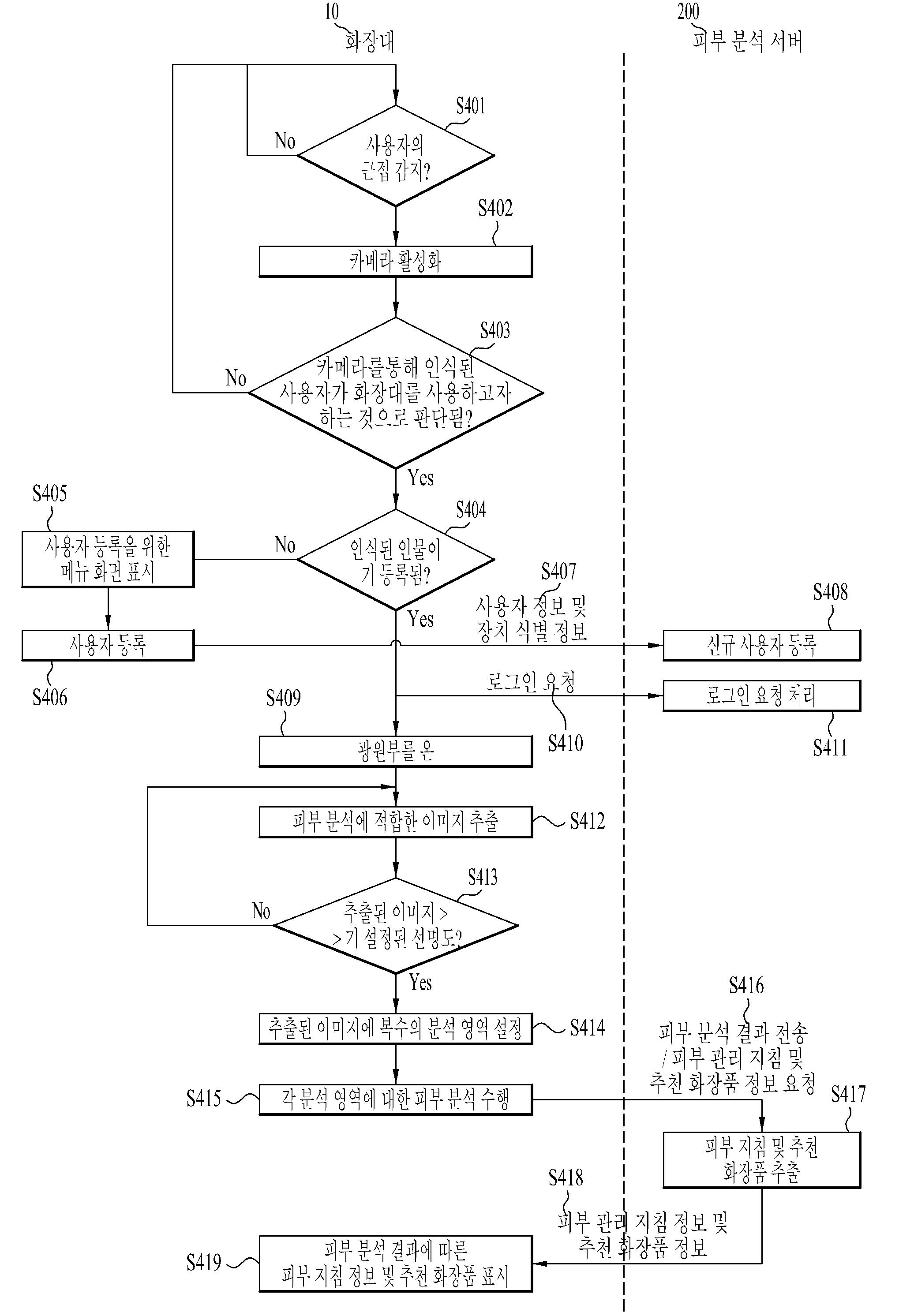
标题:
발명의 명칭 피부 분석 방법 및 이를 위한 장치
授权日:
1900-01-01
公开(公告)号:
KR1020160007754A
申请日:
2014-06-27
公开(公告)日:
2016-01-21
当前申请(专利权)人:
주식회사 엘지유플러스
发明人:
감동빈
简单同族:
KR101668348B1 | KR1020160007754A
简单同族成员数量:
2
简单同族被引用专利总数:
6
诉讼案件数:
0
法律状态/事件:
授权