首页
专利数据库
产业人才
行业动态
产业政策法规
维权援助
个人中心
登录/注册
详情
文本
图像
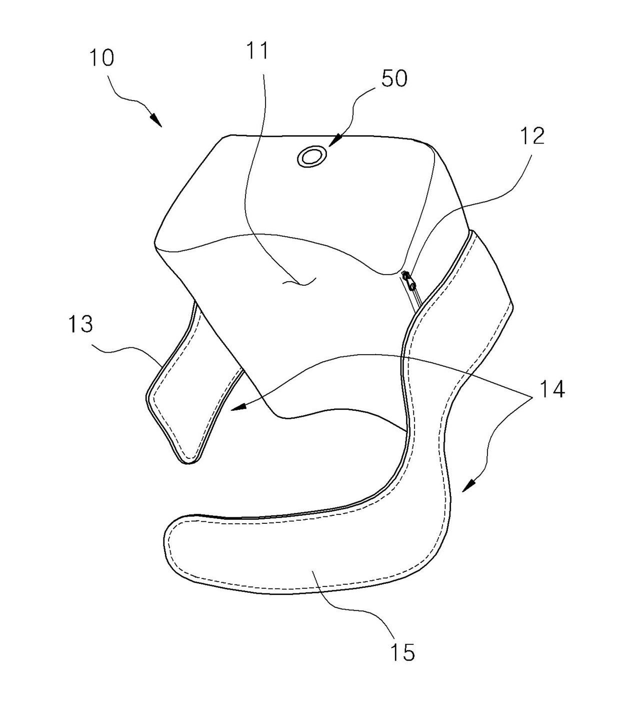
标题:
발명의 명칭 유아 급사 방지구 및 유아 급사 방지구를 포함하는 유아 안전 관리 시스템
授权日:
1900-01-01
公开(公告)号:
KR1020130072428A
申请日:
2011-12-22
公开(公告)日:
2013-07-02
当前申请(专利权)人:
조동기 | 서우성 | 서정삼 | 심종영
发明人:
조동기 | 서우성 | 서정삼 | 심종영
简单同族:
KR1020130072428A
简单同族成员数量:
1
简单同族被引用专利总数:
6
诉讼案件数:
0
法律状态/事件:
撤回