首页
专利数据库
产业人才
行业动态
产业政策法规
维权援助
个人中心
登录/注册
详情
文本
图像
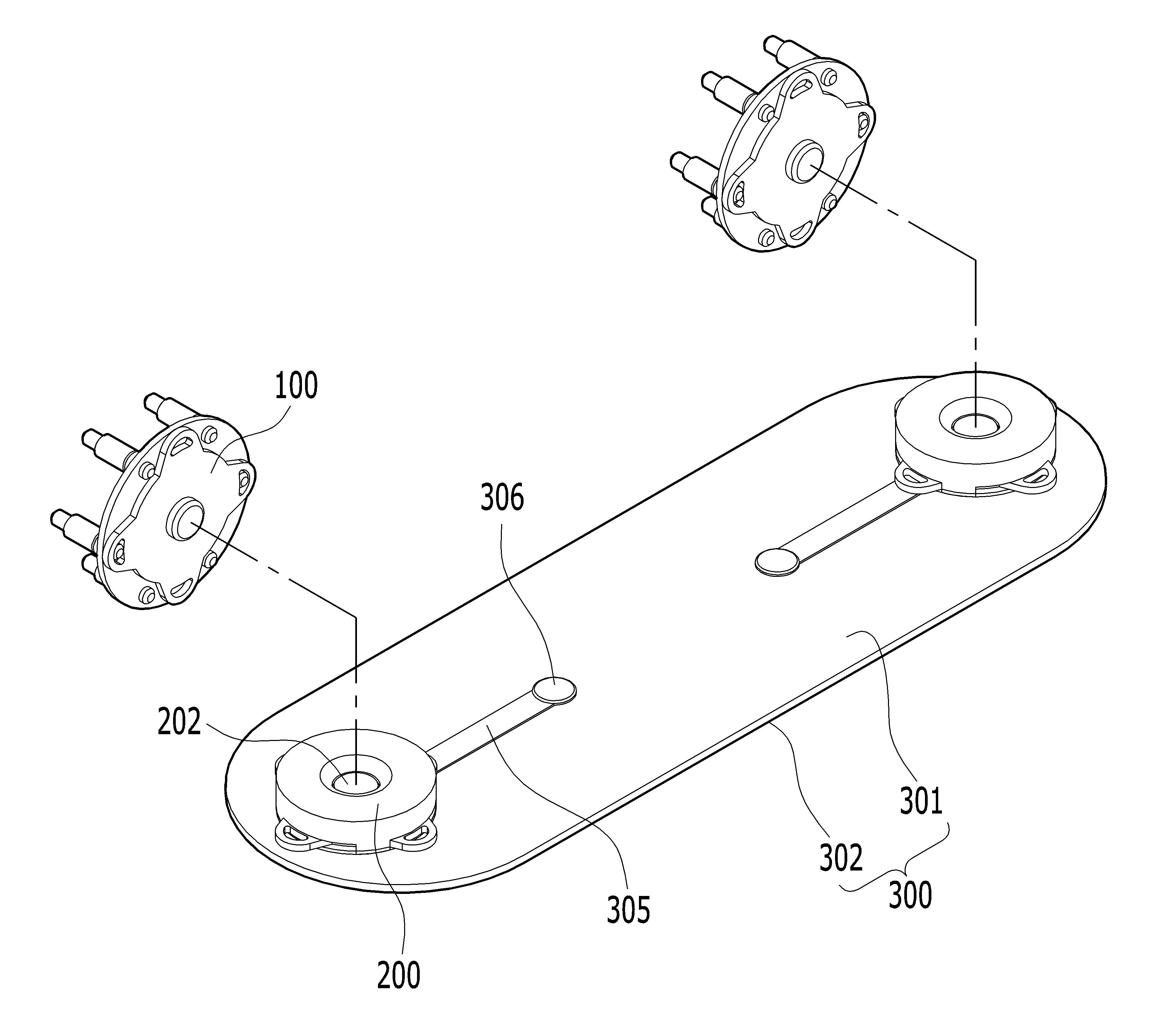
标题:
발명의 명칭 심전도계용 전극 및 전극 모듈
授权日:
2015-09-18
公开(公告)号:
KR101555602B1
申请日:
2015-01-15
公开(公告)日:
2015-09-24
当前申请(专利权)人:
박호동 | (주) 더파워브레인스
发明人:
정태성 | 박호동
简单同族:
KR101555602B1
简单同族成员数量:
1
简单同族被引用专利总数:
5
诉讼案件数:
0
法律状态/事件:
授权