标题:
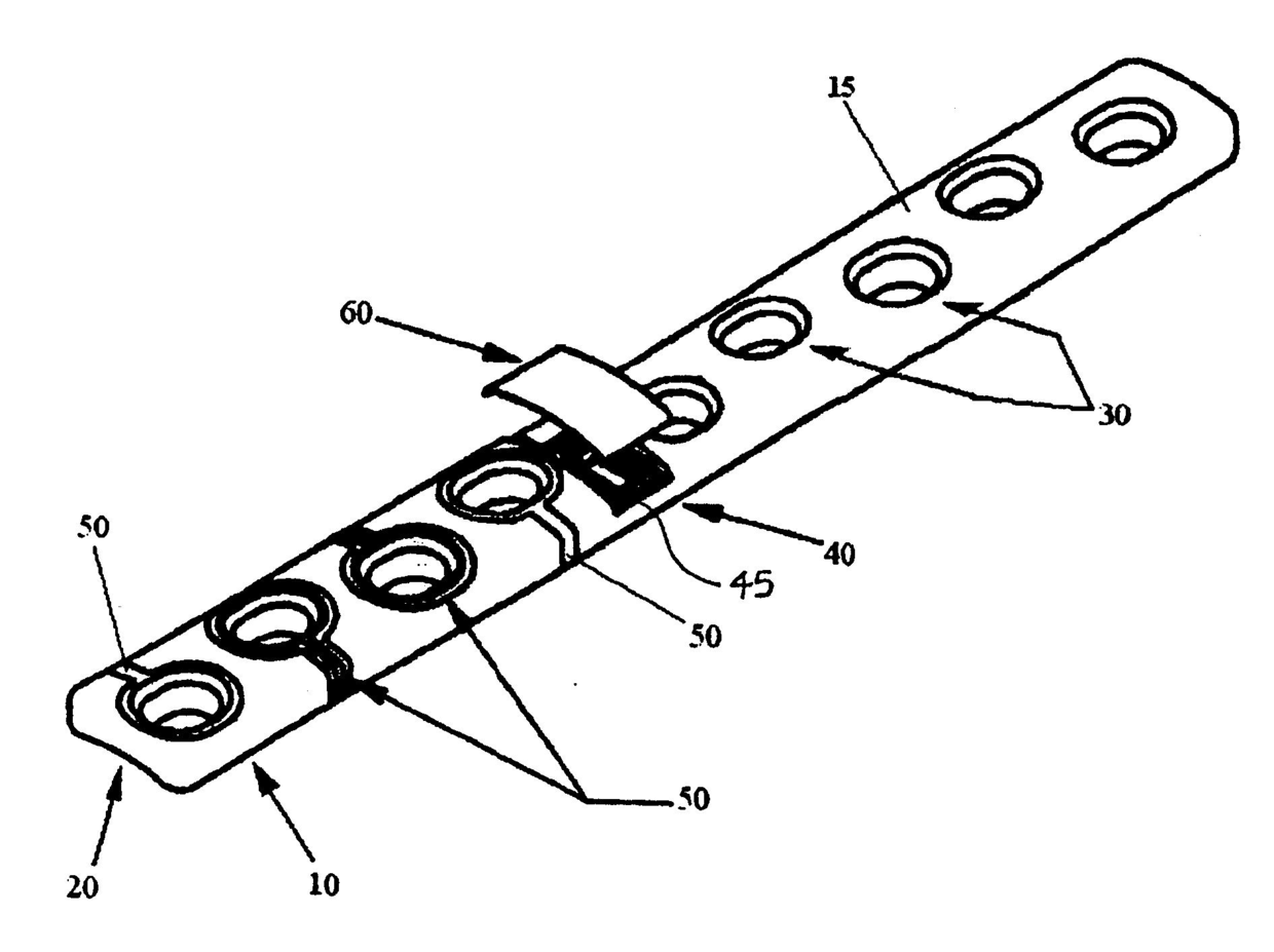
센서를 구비한 정형외과용 임플란트
授权日:
1900-01-01
公开(公告)号:
KR1020070049136A
申请日:
2005-06-07
公开(公告)日:
2007-05-10
当前申请(专利权)人:
신세스 게엠바하
发明人:
모르간,차드 | 홀,해리,티.,아이브이 | 그린,제임스,엠. | 플렉스너,게오프레이 | 겔츠,찰스,이.
简单同族:
AU2005251808A1 | AU2005251808B2 | BRPI0511838A2 | CA2569605A1 | CA2569605C | CN101060815A | CN101060815B | EP1765204A2 | EP1765204A4 | EP1765204B1 | JP2008501488A | JP2008501488A5 | JP4874970B2 | KR101189732B1 | KR1020070049136A | NZ552049A | NZ552049B | US20060052782A1 | US20120065548A1 | US8083741 | US8551092 | USR46582 | WO2005120203A2 | WO2005120203A3 | ZA200700096B
简单同族成员数量:
25
简单同族被引用专利总数:
383
诉讼案件数:
0
法律状态/事件:
授权