首页
专利数据库
产业人才
行业动态
产业政策法规
维权援助
个人中心
登录/注册
详情
文本
图像
标题:
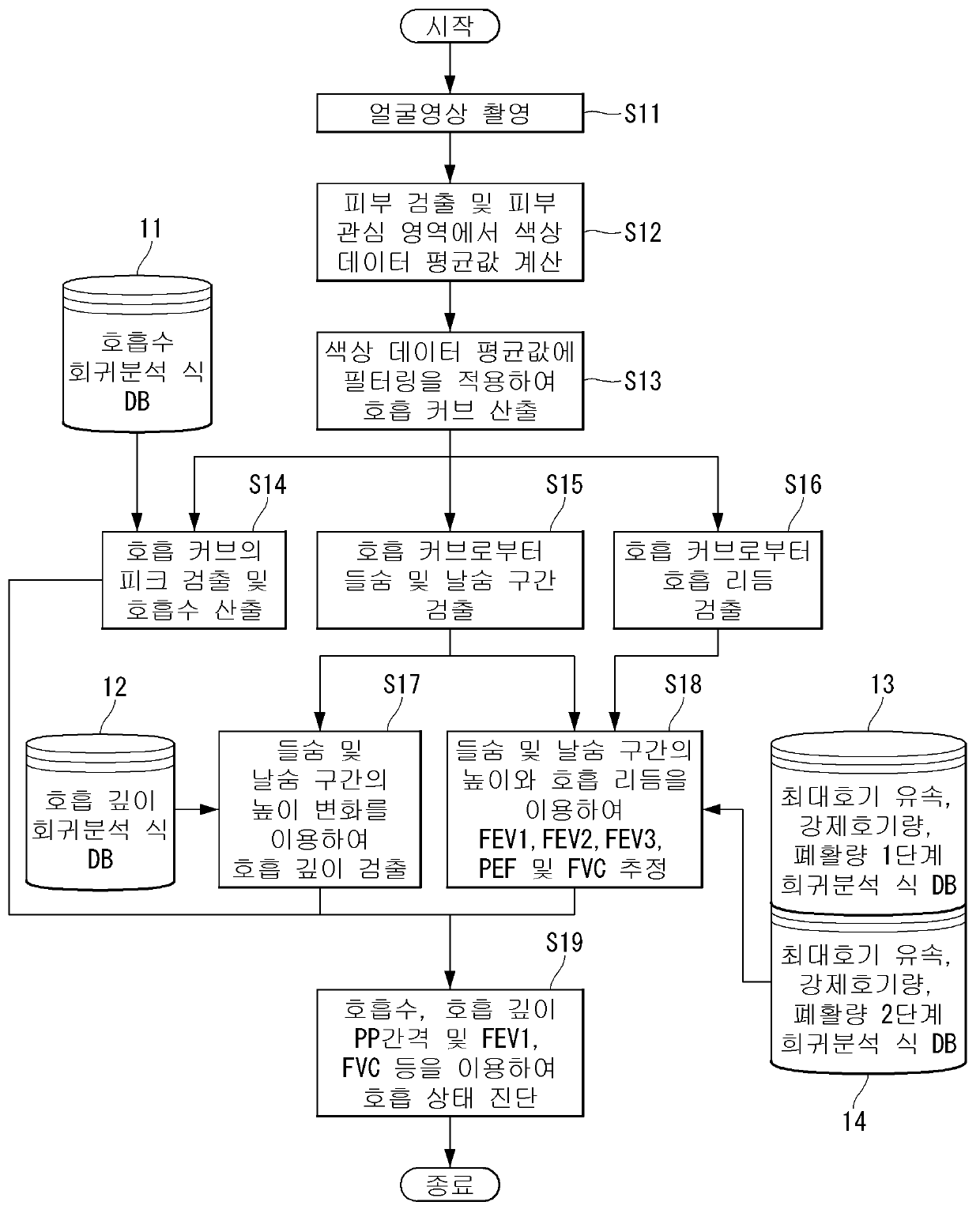
얼굴 영상에서 검출된 호흡 커브를 이용한 폐기능 측정 및 호흡 상태를 진단하는 방법
授权日:
1900-01-01
公开(公告)号:
KR1020200062876A
申请日:
2018-11-27
公开(公告)日:
2020-06-04
当前申请(专利权)人:
성균관대학교산학협력단
发明人:
홍광석 | 김성혁 | 박진수
简单同族:
KR1020200062876A
简单同族成员数量:
1
简单同族被引用专利总数:
0
诉讼案件数:
0
法律状态/事件:
实质审查