标题:
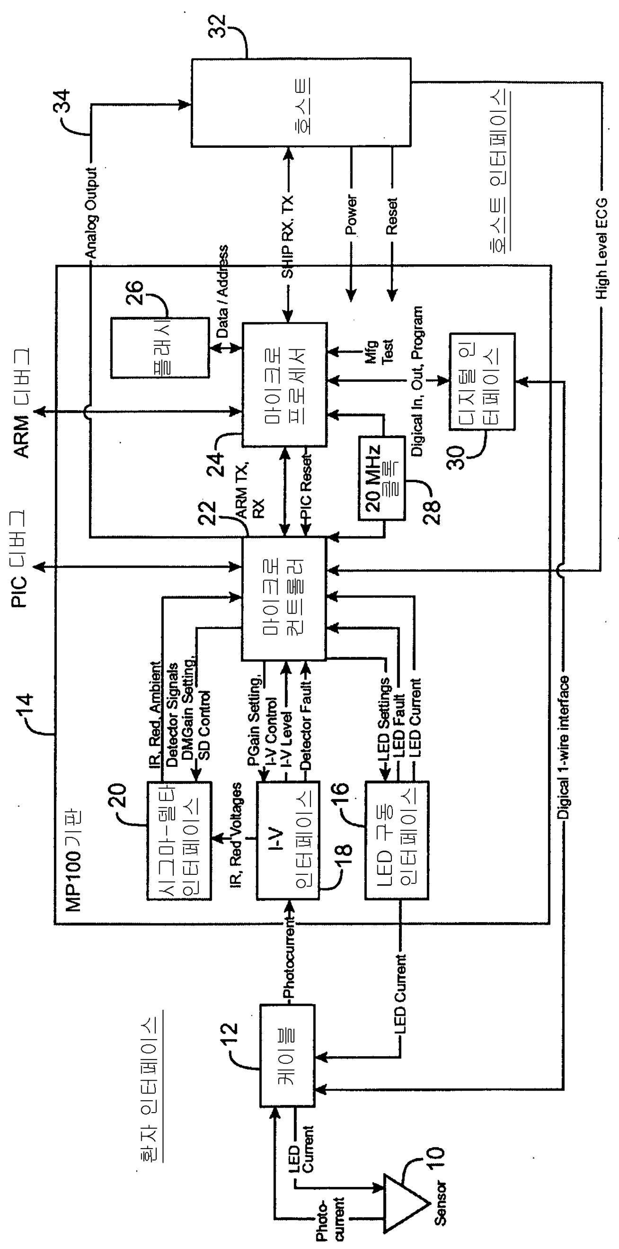
시그마-델타 변조방식의 멀티-비트 아날로그/디지털 변환기
授权日:
1900-01-01
公开(公告)号:
KR1020070024491A
申请日:
2005-02-24
公开(公告)日:
2007-03-02
当前申请(专利权)人:
넬커 퓨리탄 베네트 엘엘씨
发明人:
피터센,에단 | 세아,윌리암 | 츄,브래드포드,비.
简单同族:
AT432039T | AU2005216956A1 | CA2556754A1 | CA2556754C | CN1929778A | DE602005014618D1 | EP1722671A2 | EP1722671B1 | ES2327759T3 | HK1100270A | JP2007523727A | JP4717059B2 | KR1020070024491A | MXPA06009748A | US20050184895A1 | US20070132618A1 | US7142142 | US7355539 | WO2005082236A2 | WO2005082236A3
简单同族成员数量:
20
简单同族被引用专利总数:
180
诉讼案件数:
0
法律状态/事件:
撤回