首页
专利数据库
产业人才
行业动态
产业政策法规
维权援助
个人中心
登录/注册
详情
文本
图像
标题:
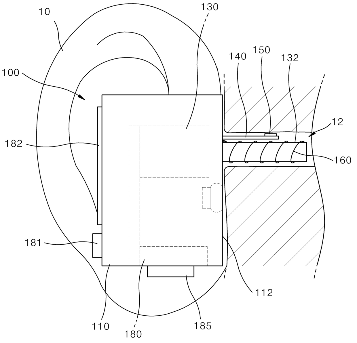
귀장착형 혈압계
授权日:
1900-01-01
公开(公告)号:
KR1020180024525A
申请日:
2016-08-30
公开(公告)日:
2018-03-08
当前申请(专利权)人:
장수민
发明人:
장수민
简单同族:
KR101847612B1 | KR1020180024525A
简单同族成员数量:
2
简单同族被引用专利总数:
0
诉讼案件数:
0
法律状态/事件:
授权