首页
专利数据库
产业人才
行业动态
产业政策法规
维权援助
个人中心
登录/注册
详情
文本
图像
标题:
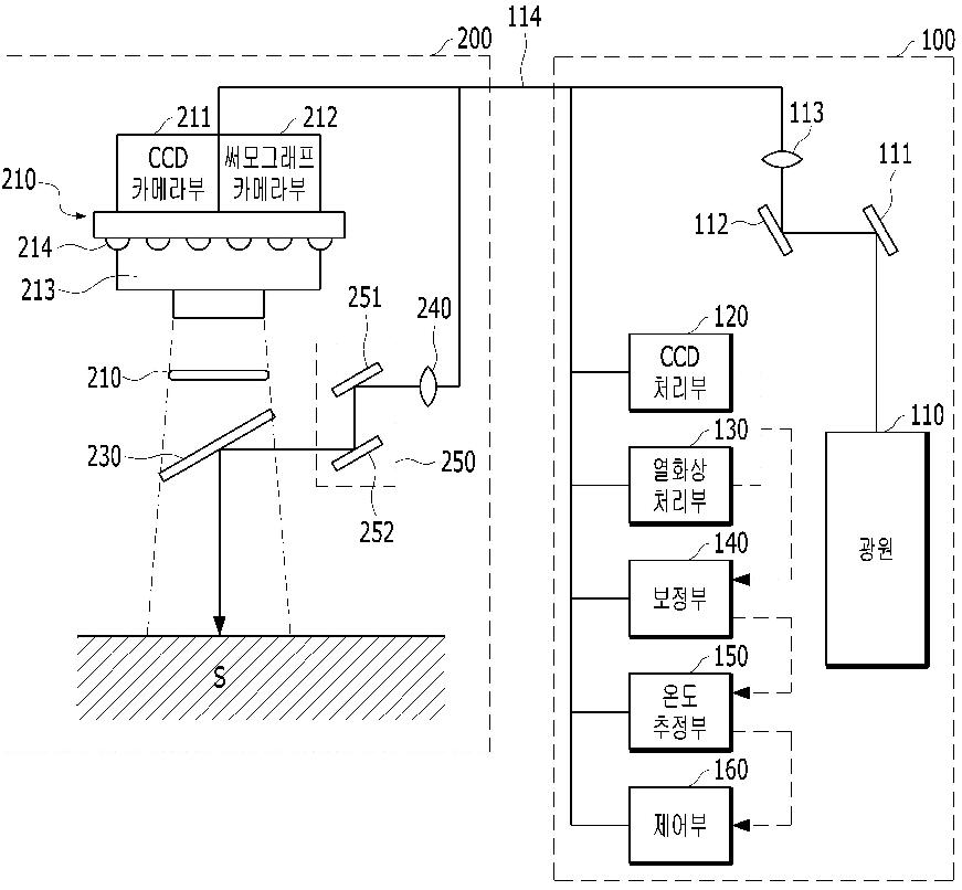
온도추정함수 및 통합 영상분석을 이용한 레이저 치료 장치 및 그 구동방법
授权日:
2019-05-02
公开(公告)号:
KR101976416B1
申请日:
2017-08-30
公开(公告)日:
2019-05-10
当前申请(专利权)人:
주식회사 이루다
发明人:
김용한 | 문동훈
简单同族:
KR101976416B1 | KR1020190023781A
简单同族成员数量:
2
简单同族被引用专利总数:
0
诉讼案件数:
0
法律状态/事件:
授权 | 复审