首页
专利数据库
产业人才
行业动态
产业政策法规
维权援助
个人中心
登录/注册
详情
文本
图像
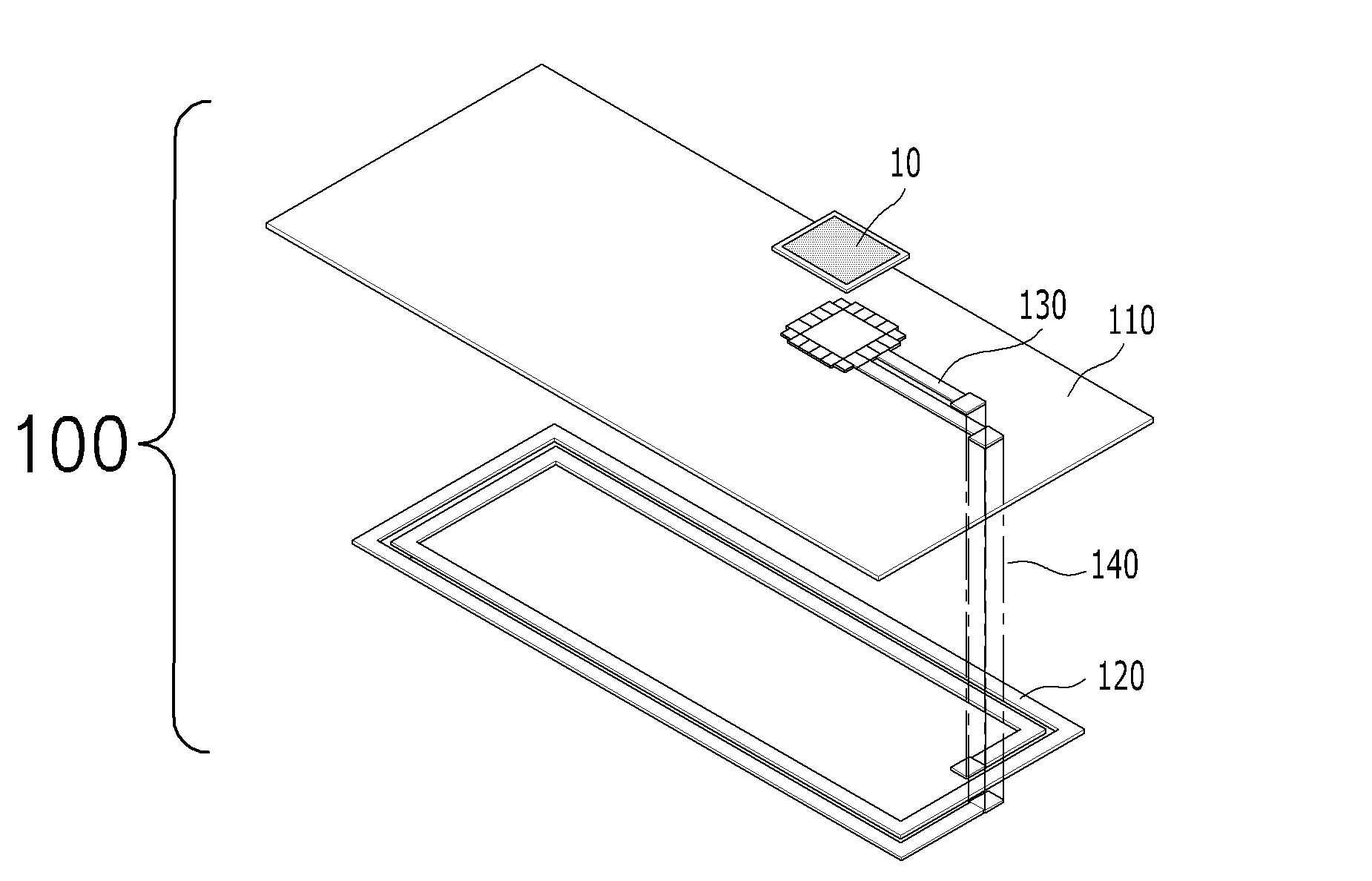
标题:
발명의 명칭 무전원 감지 장치 및 이를 포함한 무전원 체온 감지 패치
授权日:
1900-01-01
公开(公告)号:
KR1020170010662A
申请日:
2015-07-20
公开(公告)日:
2017-02-01
当前申请(专利权)人:
엘지이노텍 주식회사
发明人:
엄성수 | 오준재 | 윤여은 | 이태진
简单同族:
KR1020170010662A
简单同族成员数量:
1
简单同族被引用专利总数:
0
诉讼案件数:
0
法律状态/事件:
实质审查