首页
专利数据库
产业人才
行业动态
产业政策法规
维权援助
个人中心
登录/注册
详情
文本
图像
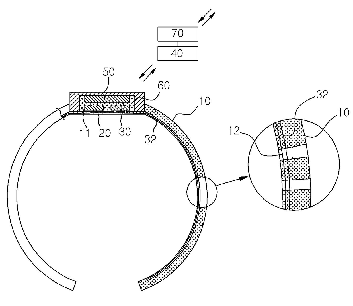
标题:
센서 감응형 RFID 태그가 적용된 환자용 밴드를 이용한 환자의 실시간 관리 시스템
授权日:
1900-01-01
公开(公告)号:
KR1020090001752A
申请日:
2007-05-17
公开(公告)日:
2009-01-09
当前申请(专利权)人:
(주)유틸리온
发明人:
KIM MOON JONG
简单同族:
KR1020090001752A
简单同族成员数量:
1
简单同族被引用专利总数:
15
诉讼案件数:
0
法律状态/事件:
驳回