首页
专利数据库
产业人才
行业动态
产业政策法规
维权援助
个人中心
登录/注册
详情
文本
图像
标题:
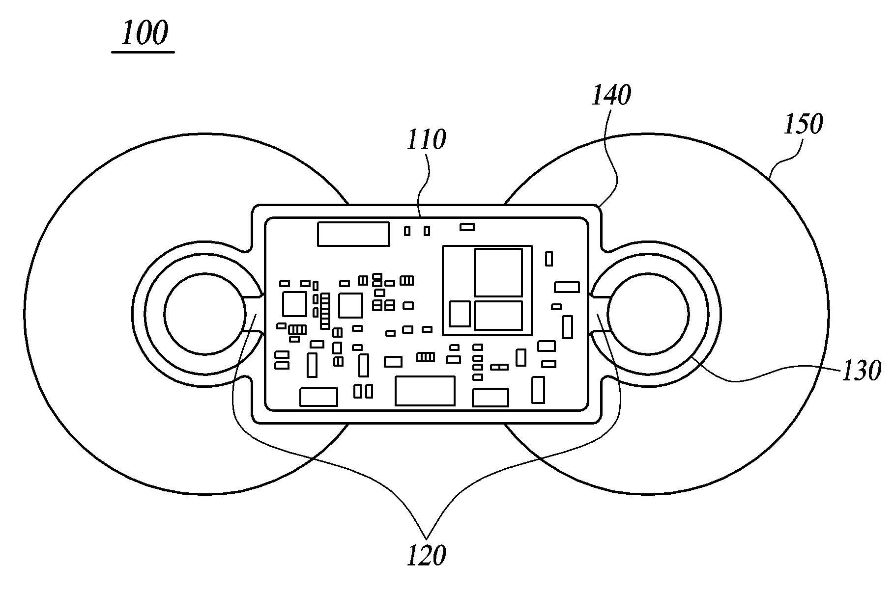
발명의 명칭 휴대용 심전도 측정장치
授权日:
1900-01-01
公开(公告)号:
KR1020160037662A
申请日:
2014-09-29
公开(公告)日:
2016-04-06
当前申请(专利权)人:
가천대학교 산학협력단 | 김명수
发明人:
현태인 | 김명수
简单同族:
KR1020160037662A
简单同族成员数量:
1
简单同族被引用专利总数:
0
诉讼案件数:
0
法律状态/事件:
驳回