首页
专利数据库
产业人才
行业动态
产业政策法规
维权援助
个人中心
登录/注册
详情
文本
图像
标题:
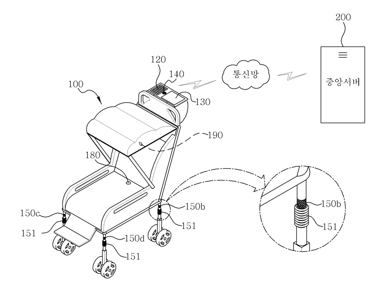
내부 온도 감지 및 실시간 발달사항 체크 컴퓨팅 기능이 있는 유모차 및 그 작동방법
授权日:
2010-12-31
公开(公告)号:
KR101006692B1
申请日:
2010-07-07
公开(公告)日:
2011-01-10
当前申请(专利权)人:
엑스투씨앤씨(주)
发明人:
최승일
简单同族:
KR101006692B1
简单同族成员数量:
1
简单同族被引用专利总数:
7
诉讼案件数:
0
法律状态/事件:
未缴年费 | 权利转移