首页
专利数据库
产业人才
行业动态
产业政策法规
维权援助
个人中心
登录/注册
详情
文本
图像
标题:
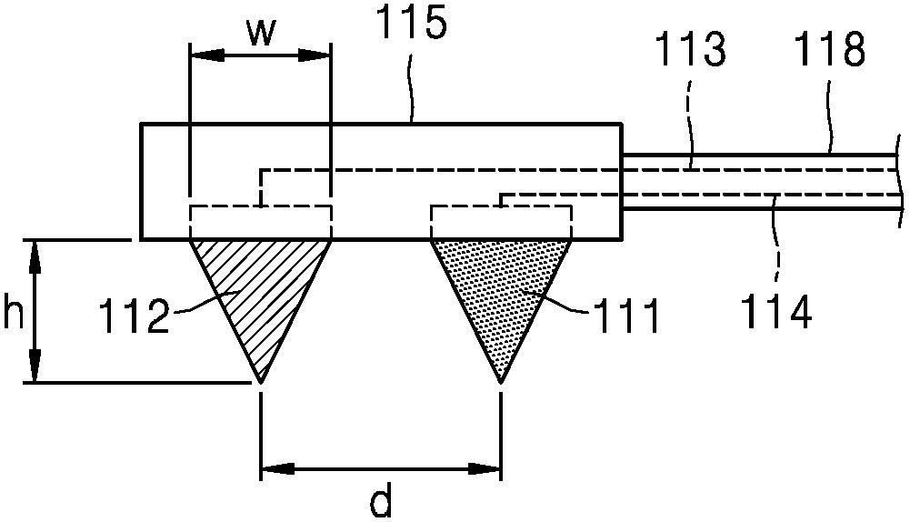
발명의 명칭 뇌파 센서 유닛 및 이를 이용한 뇌파 측정 장치
授权日:
1900-01-01
公开(公告)号:
KR1020160139612A
申请日:
2015-05-28
公开(公告)日:
2016-12-07
当前申请(专利权)人:
삼성전자주식회사
发明人:
임세훈 | 조희재 | 박준형 | 양장범 | 정재민 | 고준호 | 이창현 | 임용현
简单同族:
KR1020160139612A | US20180125386A1 | WO2016190551A1
简单同族成员数量:
3
简单同族被引用专利总数:
6
诉讼案件数:
0
法律状态/事件:
实质审查