标题:
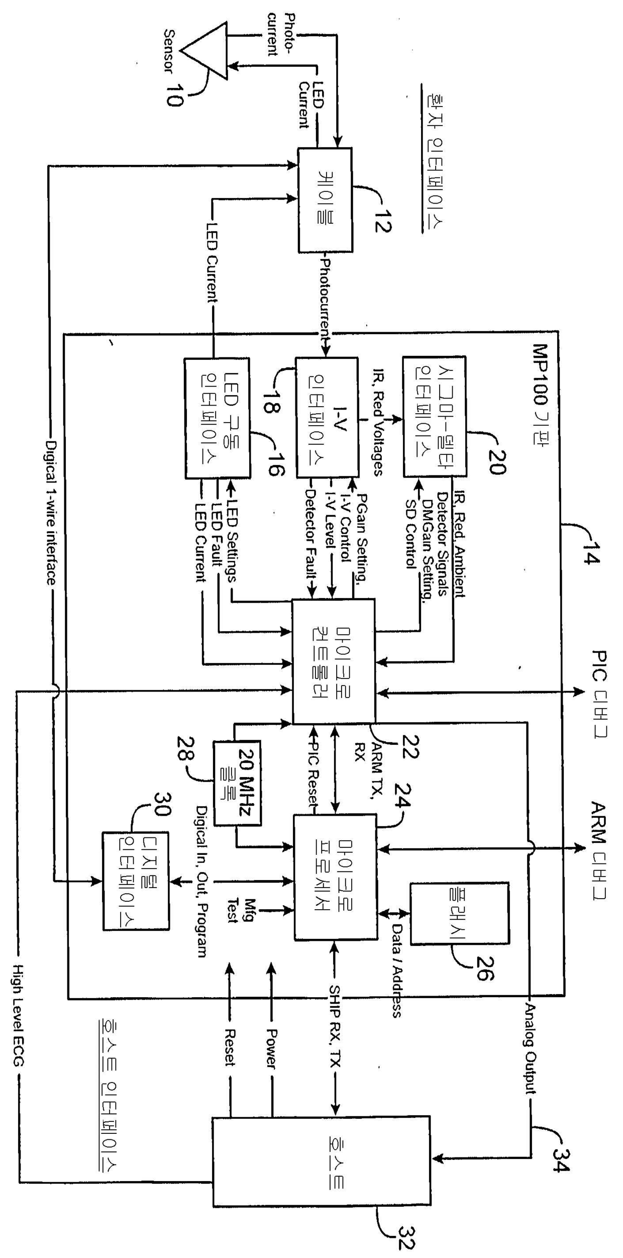
생리 신호의 아날로그 표시 출력하기 위한 델타-시그마변조기
授权日:
1900-01-01
公开(公告)号:
KR1020070029676A
申请日:
2005-02-24
公开(公告)日:
2007-03-14
当前申请(专利权)人:
넬커 퓨리탄 베네트 엘엘씨
发明人:
피터센,에단 | 세아,윌리암 | 츄,브래드포드,비.
简单同族:
AT468807T | AU2005216959A1 | CA2556755A1 | CA2556755C | CN1933770A | DE602005021470D1 | EP1729630A1 | EP1729630B1 | ES2344112T3 | HK1100519A | JP2007523728A | JP4705626B2 | KR1020070029676A | MXPA06009749A | US20050187453A1 | US7212847 | WO2005082237A1
简单同族成员数量:
17
简单同族被引用专利总数:
77
诉讼案件数:
0
法律状态/事件:
撤回