首页
专利数据库
产业人才
行业动态
产业政策法规
维权援助
个人中心
登录/注册
详情
文本
图像
标题:
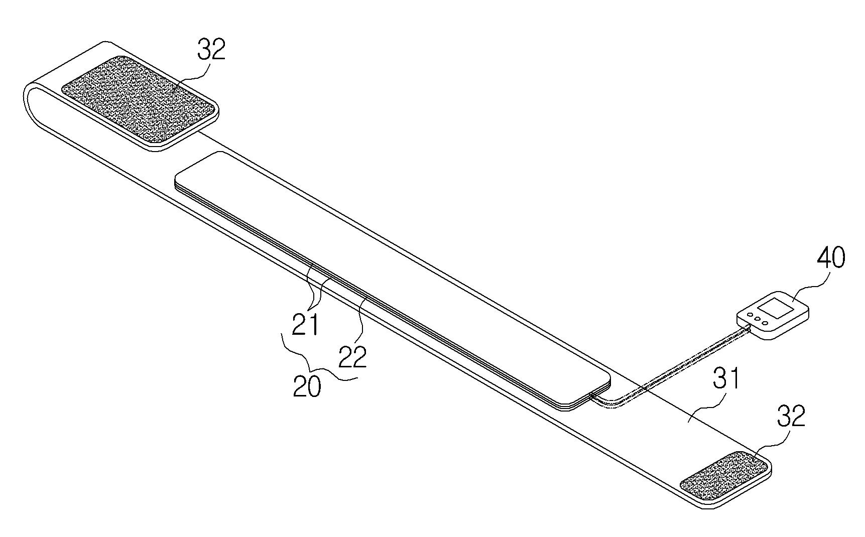
발명의 명칭 호흡 측정 장치
授权日:
2016-10-21
公开(公告)号:
KR101669878B1
申请日:
2015-02-25
公开(公告)日:
2016-10-27
当前申请(专利权)人:
순천향대학교 산학협력단
发明人:
민세동
简单同族:
KR101669878B1 | KR1020160103700A
简单同族成员数量:
2
简单同族被引用专利总数:
0
诉讼案件数:
0
法律状态/事件:
授权